[a / b / c / d / e / f / g / gif / h / hr / k / m / o / p / r / s / t / u / v / vg / vm / vmg / vr / vrpg / vst / w / wg] [i / ic] [r9k / s4s / vip] [cm / hm / lgbt / y] [3 / aco / adv / an / bant / biz / cgl / ck / co / diy / fa / fit / gd / hc / his / int / jp / lit / mlp / mu / n / news / out / po / pol / pw / qst / sci / soc / sp / tg / toy / trv / tv / vp / vt / wsg / wsr / x / xs] [Settings] [Search] [Mobile] [Home]
Board
Settings Mobile Home
/k/ - Weapons


Thread archived.
You cannot reply anymore.


[Advertise on 4chan]


How is it that patents are constantly granted for "inventions" that are 1 to 1 copies of famous designs built and tested. Like they're not even some obscure thing nobody has heard of but incredibly well known obvious prior art.

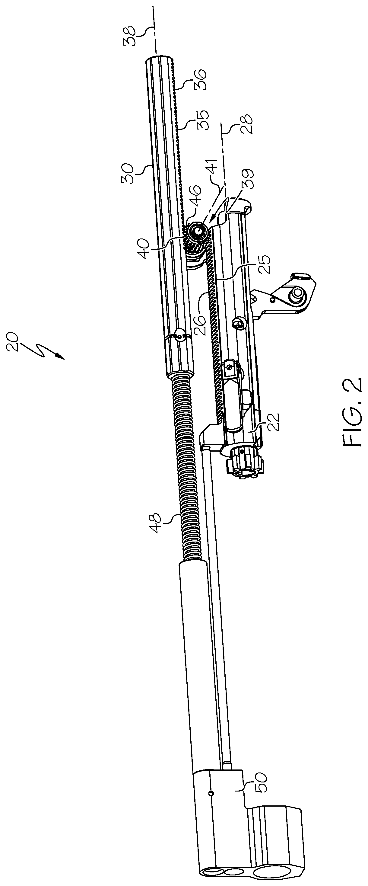
This is a 2023 patent for a mechanism that is an obvious copy of the well known AK-107 counter recoil mechanism. Why would you even apply for a patent like this? anyone who knows anything about firearms knows it's just a copy of someone else's idea.

https://patents.google.com/patent/US12253324B2
>>
>>64375020
The patent office is overworked and underfunded, so they just grant any patents that aren't obviously ridiculous and trust the court system to sort them out.
>>
>>64375020
Patent trolls.
>>
And why would Terrence Dwight Bender and Benjamin P. Peterson of "In Ovation LLC" waste their money for this useless patent that is obviously not novel?
>>
>>64375020
If you have a patent, even one that should have never been granted, you can use it to create fear, uncertainty and doubt and maybe keep someone else off your market.
The patent office doesn't have the resources to study them thoroughly enough, and it'll cost your competitor time and money to do the work themselves. They might just stay away from the concept to avoid that.

The software industry is even worse at this, with most patent applications consisting of 20+ pages of dense background information and definitions, followed by a few lines of claimed mathematical or logical invention that could be scribbled on a beer coaster. It's an invention if it's specific enough, even if it's just describing something fairly well-known / trivial in specific circumstances (e.g. known compression algorithm but on a server serving a moving vehicle via a wireless link implemented in a specific way).
The problem with those "trivial concept but in a specific scenario" patents is that they discourage anyone from touching said concept to begin with, since they (or one of their customers) could stumble into that scenario land mine by accident.

There are companies whose only business is spamming the office with trash patents like this. If even some of them get through, they can eventually begin extracting protection money from small companies that actually do something useful.
They usually stay away from bigger corporations because those tend to have the resources to get shit patents invalidated.
>>
Because it allows you to have a monopoly on certain tech and either you can make a lot of money on it or sit on the tech and squander it for decades. I'm malding every day thinking about how 3D printing has literally been held back by patent trolls as nothing about it was particularly difficult to create in the 1970s and 1980s even with that computer tech outside of not having modern slicer capabilities.
>>
https://youtu.be/KjS3TNBgi_o

Video related.
TLDR: Surefire copied B&T's publicly exhibited suppressor mounting system, patented it and then threatened B&T's customers with legal action for buying B&T's products.
>>
>>64375045
That's not really the Patent Office's problem if Terrence Dwight Bender and Benjamin P. Peterson want to throw away their money on a worthless patent.
>>
>>64375045
>>64375430
Fuck you, I want!



[Advertise on 4chan]

Delete Post: [File Only] Style:
[Disable Mobile View / Use Desktop Site]

[Enable Mobile View / Use Mobile Site]

All trademarks and copyrights on this page are owned by their respective parties. Images uploaded are the responsibility of the Poster. Comments are owned by the Poster.