>Just days after Prof. Francis Boyle agreed to testify against Bill Gates and Albert Bourla regarding the deadly COVID mRNA shots, he was found dead.>Prof. Boyle, who literally wrote the 1989 Biological Weapons Anti-Terrorism Act, stated that both SARS-CoV-2 and the mRNA injections were DARPA-funded offensive bioweapons programs from the outset. According to Boyle, the gain-of-function narrative was just a cover story. The true aim was always to develop “lethal yet vaccinate-able” population-reduction technology. He named key figures involved, including UNC, Wuhan, Fauci, Daszak, and Baric.>Boyle went further, labeling the shots “synthetic biological weapons of mass destruction,” citing their potential to cause autoimmune damage, prion-like misfolding, and rapid cancers.>He filed lawsuits, appealed to Congress, and warned the public. But just 20 days after agreeing to testify for the prosecution, he was found dead. This tragic turn of events follows a pattern observed with numerous doctors and whistleblowers since 2020https://medium.com/@globalgeopolitics/the-mysterious-death-of-prof-francis-boyle-a-bioweapons-whistleblowers-final-warning-b50ab3a835eaGoddamn, i heard about this guy but i had no idea that he was liquidated xDAnyways, everything he said is true, if we talk about modRNA/LNP technology. I do confirm, true to the last letter. Some related stuff:Col. Douglas Macgregor interviews Dr. Francis Boyle (Rumble, June 2024): he discusses midRNA as a bioweapon in the context of bioweapons treaties, gain-of-function, and related topics.https://rumble.com/v520cfu-douglas-macgregor-interviews-dr.-francis-boyle-expert-on-bioweapons-treatie.htmlStew Peters Show clip (referenced widely, including on Rumble): Boyle calls the COVID vaccine a DARPA bioweapon.https://rumble.com/v72dp3s-covid-vaccine-is-a-bioweapon.html
sad shit, I'm unvaxxed myself but what's even the point if all my family took it kek, gg wp
>>528165152even though im by far the richest and most successful member in my family they still ignored me and when and got the shot in exchange for $20 giftcards
>>528165101hopefully something comes of this so all the people that said "two more weeks" can suffer a fate worse than death. taking the vax was just a moment of weakness, I don't blame them for that. It's the arrogant, spiteful, social policing cowards that pretend to be righteous because they're not buried in a mass grave yet. Those guys and the "you won't do shit" spammers, bots or not.
>>528165352 The more time passes, the less NPCs associate their on-set health deteriorations, cancer diagnoses etc with a gene therapy injections they took 5 years ago. It is a perfect genocide, imo, especially amid long-term plausible deniability performed by governments/media that intentionally try to silence it down by saying : "cmon, it was so long time ago, lets forget about it and go forward", conveniently "forgetting" that this thing injected into people in 2021/2022 causes permanent genomic/cellular instability and transcriptomic/immune dysregulation that can kill even decades aftershot, that causes progressive infertility etc xD
he's right about a lot of things and i hope he's wrong about the vax
>>528165259>20$ gift cardsHey, thats pretty generous
>>528165879>i hope he's wrong about the vaxHe is not, i guarantee xD
>>528165889If someone tried to pay me to take a vaccine, I'd kick his fucking ass for insulting my intelligence.
>>528165776Here in Bolanda, the regime not only refuses to investigate hundreds of thousands of excess deaths caused by plan-demic, but it actually doubles-down now by introducing mandate against 9-1t yo children to get injected with another cancer/infertility-inducing bioweapon (Gardasil). They still legally persecute doctors who were warning against the modRNA/LNP bioweapon and even fail to apologize.
>>528165960>If someone tried to pay me to take a vaccine, I'd kick his fucking ass for insulting my intelligenceThats how Gates Foundation "vaccinates" Africa, by paying parents 7 dollar for every "fully vaccinated" child. Donuts (USA) and sausages (Germany) surely cost around 7 dollar too xD
>>528166023Yes gardasil was mandated in texas here before covid. That was the test run.
>>528165879Regarding the characteristics of the vaccines themselves, what they actually are, that guy is right. As for DARPA, its probably true too, especially since my own personal example seems to back it up. In mid-2020, around late summer, a friend from the DIA warned me not to take "covid vaccines". At first i thought he was just messing around, but he was dead serious, saying it was "rat poison and nobody in the agency is going to take it." He didnt explain any details. When i asked him about the virus itself, whether it was really serious, he said there were no reports/rumors on it being a big deal. DARPA and DIA are both DoD agencies (now basically DoW, for anyone who is kept up with the changes kek), they collaborate closely, share information, so it does make some sense. As for me personally, i am connected to US military intelligence because i served over a decade ago for a while, and i still have contacts from that time. This 2020 friendly warning is a beginning of me investigating all this stuff on my own, as a hobby.
>>528167643Thanks fren, glad you listened to your friend
>>528167643Ty pol fren, I recognize your posts and appreciate your efforts
>>528167643I didn't take the vax because I am a contrarian retard and they tried to destroy ever aspect of my life because of it. Havent been able to look at any normie the same again.
>>528165352>taking the vax was just a moment of weakness>injecting heroin was just a moment of weakness>eating 500 hamburgers a week was just a moment of weakness>taking selfies too close to an oncoming train was just a moment of weaknessIt was a choice, and just like all choices you have to be big enough to deal with the consequences of that choice.>It's the arrogant, spiteful, social policing cowards that pretend to be righteous because they're not buried in a mass grave yet.You mean like the mask enforcers and family gathering banners of 2021?
>>528167826Military intelligence spooks have similar ethos to soldiers: saving each others lives is a part of the job. xD
>>528168151>vaccine shameWhy would it cause shame, unless you think you did a shameful thing?
Nobel winner Dr Luc Montagnier 'passed away' as well
>>528165101>According to Boyle, the gain-of-function narrative was just a cover story. The true aim was always to develop “lethal yet vaccinate-able” population-reduction technology.I wonder if they're going to experiment with graphene as a switch. It does seem quite versatile.
>>528168712Good people die first.
>>528165101Why didnt you stop your family from injecting this poison ?I told my father he will die and get sick, took his phone, opend his facebook app and followed the guys sharing this stuff..... 5 days later he was a "pol like" boomer and told our neighbors not to take it kek
>>528165101You cannot get any witnesses to any court to testify against people who already have poisoned 4 billion people. After 4 billion few deaths more does not matter.
>>528165101
>>528168765You dont need graphene or nanobotsYou just use "vaccine" to force the cells to produce "3D RNA Crystalins" used as "Memory" & 2dRNA to use as GPU while the clots are in reality "self-assembling amyloid fibres" working as conductors.....Ps, all of the in/output will be transmitted by your own bodies RF which can by read by 6G from 20meter. You are a walkable processing, power and transfering device
>>528168864>Why didnt you stop your family from injecting this poison ?Honestly, the truth is i had a huge blow-up with my parents over those "vaccines". I couldnt for the life of me convince them not to get injectdd, because their brains had been washed by the TV, neighbors, friends and other factors. During a visit, i smashed their TV. I told them i would buy them a new and better one, on the condition that they dont get "vaccinated". It worked. They are in good health now, while the neighbors are struggling with all sorts of strange chronic illnesses, some cant even walk up a flight of stairs without getting winded, even though supposedly their medical tests are fine. I could go on and on on this shit xD
>>528169126I wanted to ask this question the brazilian guy. Ofccourse someone like you would force your parents not take poison, polish people are not makakos, well sort off hahI
>>528168765>>528169085There is no "graphene" or "CPUs" in those preparations. xD That was a classic piece of disinformation intended to ridicule and make any claims that the preparations could pose any danger seem implausible. The genetic technologies used in these preparations, such as modRNA, LNPs, residual DNA plasmids, etc., are entirely sufficient to cause cellular and immune instability. The result of this is persistent multigenerational excess mortality across all age groups and an accelerated degradation of population-level fertility.
>>528169872>There is no "graphene" or "CPUs" in those preparations. xD That was a classic piece of disinformation intended to ridicule and make any claims that the preparations could pose any danger seem implausibleA lot of NPCs fell victim to it, by the way.> Mar.23, 2021: "Got my Bill Gates 5G microchip implanted today! Gotta go back in 3 weeks to have it activated! I wonder what superpowers it'll give me?">Feb.28, 2024, Nashville, TN - 38 year old Brittany Rhea Garton died suddenly due to "organ failure"Many such cases, also here in Bolanda. xD
I'm sleepy
>>528171519 This ones from Bolanda. 2021: the chick boasts about getting injected with microchips that would boost her mobile Orange Internet transmission from now on. Dies in sleep a year later. Classic xD
>>528165101>Vaxxjamz will be studies for generations
>>528165776>It is a perfect genocideJust wait until the children of men style infertility crisis start in another 15 years. Pray it's not a subhuman savannah nigger that's eveyones savior.
>>528168631All vaxxtarxs should be shamed for kowtowing to the mob, the elites, and faggots
>>528172541NahThe Beast will be a yuropoor
the funniest thing about all this, is the same people who refused to believe that maybe the elites would want to get rid of useless eaters, are also to stupid to realise the Epstein files like everything else is just a distraction. Notice how in 2021 if you brought up Bill Gates doing sketchy things with vaccines in third world countries you were a conspiracy theorist spreading dangerous misinformation that needed to be cancelled, or censored, but today the whole world is basically saying he eats babies and no one even cares. That's because the Epstein files are the approved talking points for NPC retards. Talk about anything - just not what the elites and governments did during and since covid.
>>528172716>Epstein files like everything else is just a distraction.Everything popularized by media is a distraction, but if we talk about Epstein files, i managed to find interesting stuff desu:https://archive.4plebs.org/pol/thread/527807558/https://archive.4plebs.org/pol/thread/527807558/#527808190https://archive.4plebs.org/pol/thread/527807558/#527808874https://archive.4plebs.org/pol/thread/527807558/#527809761https://archive.4plebs.org/pol/thread/527807558/#527815461Sometimes media might provide a double-edge sword info. Not even single one out of my discoveries was discussed in MSM, of course, it focused entirely on pedos, Trump and Putin, but the fact is they shot themselves in the foot by publishing these files.
>>528165101he could have been a little more circumspect. maybe employ 30 armed guards and bunker down.the misplaced boldness is silly
>>528173167McAfees extreme security measures before his supposed death included surrounding himself with heavily armed ex-military guards, employing attack-trained dogs on his property perimeter, carrying multiple guns (often sleeping with one under his pillow), living nomadically "off the grid" like Unabomber to evade tracking, and installing a Faraday cage for anti-surveillance protection. He also had a tricked-out vehicle with reinforced features and lasers. All of this supposedly didnt help him assuming that he is really dead.
>>528174393BTW, i just reminded myself of old case from 90s/00s Poland when "wojskowa bezpieka" (WSI - a postcommunist military intelligence) was still very powerful. I even had one relative who served in it at the time xDHere in Bolanda, the case of Olewnik kidnapping was a prime example how military intelligence worked. Wlodzimierz Olewnik was the wealthy Polish meat industry tycoon and father of kidnapped/murdered Krzysztof Olewnik. Military intelligence spooks used police commander Maciej Ksiazkiewicz to interact with this tycoon for them. He proposed taking over the Olewnik meat plants in Sluzewiec as a joint venture and, after refusal, threatened him. Later on, spooks, using local criminals as a workforce, kidnapped Olewniks son. The theory, promoted by Wlodzimierz Olewnik (that is true btw), suggests the kidnapping of his son aimed to destabilize his meat-processing empire: banks grew suspicious, terminated credits, and halted deals, pushing the firm toward near-bankruptcy. This could enable a cheap hostile takeover or forced sale for pennies, as alleged in prior rejected corrupt proposals to acquire Olewnik plants at low prices. Kidnappers (low-tier expendable criminals) instructed by the police commander (Ksiazkiewicz) were imprisoning Olewniks son for _years_. All ransom trials failed. Finally, when spooks got bored and realized this tactics doesnt work because the company is still afloat, gave order to Ksiazkiewicz to kill the kidnapped guy. He psssed the order to criminals. Later on, all three kidnappers "comitted suicide" in prison despite two of them saying in public and confessing in letters right before death that they dont want to die xD Ksiazkiewicz was given second life from military intelligence. He reportedly died of a heart attack in September 2003, weeks after Olewniks murder. Suspicions arose of faked death: quick cremation without autopsy, unseen body, symbolic burial etc. Finally his fresh fingerprints were found in 2009 xD
>>528174871Even now, like 25 years after happenings, nobody connects this spectacular kidnapping/murder with WSI and i have first hand info from my family that WSI was behind it. Official narrative blames only police and SLD politicians (socialdemocrats/postcommunist) but the military intelligence is clean as a mineral water. Thats why you should never fuck around with military intelligence for your own good xD
俺の姉ちゃん大丈夫かな。モデルナ3回接種後に生理不順が6カ月続いて、あげくに49歳にして閉経した。離れて暮らして生活保護もらい、うつ病気味で心療内科に通ってるよ。ケースワーカーついてくれてるから大丈夫とは思うけど悪化して認知症にでもなったらどうしようかな。うちの親父も中度認知症だし。
I hear computer noises in my brain, and see ai rendered faces when I close my eyes, and I see computer text on the wall, and my skin burned for 3 years after being exposed to "shedding" from 2nd hand clothesThe vaxxed are releasing nanobot aids and I will not go to heaven now since the covid vaccine was the mark of the beast and it spreads through shedding
>>528165101Bumpo
>>528165101>xD
>>528168379they make it illigal for using the bus and train if you wherent not vaxxinated. people with a job, fat unemployed pedo retard neets you like are excluded, need transportation to reach there job place.
>>528172014evACK- !
>>528176515>makemade*. I am retarded too.
>>528169872One thing I find fascinating about them manufacturing fertility issues and excess mortality is how aggressively they are importing Indians (and others) for cheap labor. I'm guessing people from those countries didn't take the mRNA version (or any version, Indians claim that 90%+ took it lol)? Are they cultivating a more pliant slave class to keep the green line going up and prevent anti-elite sentiment?
Poland is now under 24h media brainwashing in case of "HPV vaccination" for kids because the regime introduced a hardcore mandate since 2027.What you really need to understand it is a democide is IQ higher than room temperature.For healthy individuals, HPV infection most often clears naturally via strong immunity (90% within 2 years), only 10% persist as high-risk, with cancer risk extremely low (1% lifetime for cervical/oropharyngeal, taking 10-20 years). HPV supposedly causes 5% global cancers (660k/year), others (tobacco, trash food etc) 95% (19M/year).So why governments force people to take "HPV vaccines" instead of banning smoking, alcohol and cheap carcinogenic food? xDBTW, the 5% global cancers from HPV may exaggerate due to varying attributable fractions like oropharyngeal 12-30% vs 70%). Conservative estimates suggest 3% (530k cases). xDFinally, vast majority of these 3% are people with immunosuppression, comorbidities and very high number of sexual partners (e.g. whores).So why governments force healthy children/teens into this "HPV vaccination" if vast majority of people who develop HPV-induced cancer are unhealthy weaklings with fucked up immune system and professional sluts? xDBut the biggest joke about these "HPV vaccines" is that they most probably dont prevent HPV-induced cancer at all. All of this is a myth, a marketing trick xDRees et al. (2020) critiques Phase 2/3 trials for using surrogate endpoints (CIN1+/2+ lesions) instead of cancer, short follow-up (4 years vs. decades for cancer), unrepresentative populations (older women vs pre-teens), overdiagnosis from frequent testing, and lack of true placebos. No cancer cases in trials, the study argues uncertain efficacy against cancerhttps://pubmed.ncbi.nlm.nih.gov/31962050
>>528177584>how aggressively they are importing IndiansMultiple reasons. 1) They want to pressure TFR rates in India by removing millions of fertile and young people from there to the West, 2) They want to cover up a genocide of locals with using "vaccination" with this immigration, 3) They want cheaper and less resource-consuming biological alternative to culled locals in the transition period as AI/data centers/advanced automatisation renders people useless, 4) Indian population is based on caste system, and is generally characterized by rather mediocre IQ, which guarantees unreflective obedience towards authorities, 5) uprooting 3rd world nations from their natural habitats and exporting to USA/Europe automatically and instantly reduces their birth rates radically only due to cultural/economic/social factors, 6) it is very hard to mass-"vaccinate" people in the 3rd world due to huge gaps in medical infrastructure, it is not a problem in the West tho, 7) immigration fuels atomisation of society and its irrrversible ethnical/cultural alternation which radically decreases probability of anti-govn uprising, 8) mass immigration enables divide et impera, 9) immigrants are more tolerant for lower standard of life, working for under-minimum pay etc
>>528168151BASED vaccine shame poster
Imagine being so fucking stupid that they didn't even their waver forms. In 2026 none of the vaccinated can admit they even know what zero liability means. Absolutely hilarious.
Imagine taking it and saying this is okay. LMFAO
>>528165101>In January 2020, Boyle warned governments worldwide about the potential bioweapon nature of COVID-19. He believed the virus was deliberately engineered and not a product of natural zoonotic transmission>He claimed Fauci knew about the Chinese lab leak and deliberately concealed this information. >He believed the virus and the subsequent mRNA vaccines were part of a larger, ongoing bioweapons programThx, bump.Most of comment only talking about the vax but not about how to avoid the virus.Either deliberate or just low iq.
>>528178929>the virusThe virus was/is a nothingburger.
>>528169872Graphene is there you kike, it was detected and confirmed by multiple labs, for example la Quinta columna
Squeak Squeak!
Effects of graphene mimicking vaxx symptomshttps://www.laquintacolumna.info/docs/docs/campra-informe-toxicidad-en.pdfand this gem: https://www.researchgate.net/publication/283302295_CORONA_A_Coordinate_and_Routing_system_for_Nanonetworksmy webm is real too, search who Geoff Watson [presenter] is. He still works there.
>>528165101>medium>rumbleYou fucking faggots will be vaxxed against your will next time because otherwise you really will die
>>528179240while it's true that they polluted the humanity genome, there put a couple 'extras' there too. One occasion ever to do it. One [mRNA/genetic angle] does not exclude the other [nano]two directional brains are midwits.
>>528179260No.No one can be forced to take a vaccine. The vaccinated took their shots on blind faith. A person with critical thinking learns their legal rights, and then learns that they can refuse for lack of informed consent.Did you know the vaccine was zero liability before you took it?
>>528179260Read your waver form>>528178843>>528178887You flushed your legal rights down the toilet because the magic wizard on TV told you to.
>>528165352>You won't do shitWell go on, show us your work
The vaccinated created a new race for themselves. It's called "VACCINATED".A vaccinated person is worthless unless they can admit they took a zero liability experimental vaccine over peer pressure. They lack the bare minimum critical thinking to make decisions.
>>528167643>a friend from the DIADIA are the real deal. Had friends there.They were the ones scrambled to investigate/coverup when the US Navy shot down TWA 800.
>>528167036USA doughnut on a bad day is like $2.99 ea
>>528165101I've always said, if you're going to blow the whistle, you need to blow it right this minute, not tell the whole world you're going to blow it on such-and-such a date and expect the evildoers to just simply resign themselves to being exposed by you. Anybody who says they're GOING to tell the truth is GOING to wind up dead first. "Aku Soku Zan." Slay Evil Immediately. I really hate how stupid so many smart people are.
>>528172716Stop saying elites. It's Jews. They are present in all classes. Are the communist agitators on the street and the fake journalists all "elite" too? It's not a class problem. It's an ethnoreligious problem.
>>528180055Probably because they are leftist and because they need the world explained to them like an exposé in a movie where they think the bad guy will meander on his monologue and not just shoot them at the earliest possible moment.
>>528179835they are actually called Homoborgenesis race, in legal papers, look up Todd Callender
>>528167643God bless you and chads like you who keep us unconnected NEETs briefed on the ruses.You're doing God's work, as are you associates.
>>528178639Excellently summarized.You might add to your list the importation of jeets is the global continuation of the kikes' Kalergi plan, this time using "economic refugees" from Bloody Benchod Bharat instead of Muslims.The jeets are also being imported for future use as Kapparot chickens when the global economy finally collapses. It will be much easier to blame the millions of jeets everywhere - led by the high-profile Chief Excrement Orifices - than to find the kikes who hired and imported them all.
>>528179030Thats bullshit imo. xD They used optical microscopy, electron microscopy, and Raman spectroscopy. First two are completely fkn useless. Optical microscopy lacks resolution for nanostructures, potentially mistaking aggregates. Electron microscopy can confuse if ignoring morphology, LNPs are spherical (50-200nm), graphene is flat sheets but artifacts like stains may mimic particles. Meanwhile Raman may misinterpret peaks. If you want to detect graphene, you do Raman first to find characteristic peaks, and then you check it further with TEM for morphology and XPS for composition. They didnt do this of course xD Peaks they found for rGO are not excusive for it. They can arise from amorphous carbon or disordered sp2 carbon contaminants (very common in samples), adventitious carbon on surfaces, overlapping bands from other organics (lipids/proteins in "vaccines" show nearby modes 1440-1460 cm-1 or broad features misassigned, artifacts, poor resolution, or misinterpretation of broad peaks etc. Only TEM and XPS can give 100% sureness with Raman. Finally, they claimed high concentrations of graphene oxide (often cited in related claims as 99% or over 99% of the vial content (kek). Thats impossible. Such concentratikn would kill 2 minutes after injection. Much lower concentration could delay death by weeks. Besides rGO is mostly removed from body via urine/feces. Also accumulated in organs disappear after 9 months on average
>>528180131>Stop saying elites. It's JewsYes, but the kikes are supported by corrupt non-jews that also need to be removed.It's a non-trivial problem in naming, "elites" protects the jews but "jews" protects their corrupt shabbos goys.
>>528180548Not just that.This "Nipah" shit of the last few weeks is a preface, like an early warning system being triggered to tell us what's about to happen.Indians are vaxxed to hell and back.There's no reason to assume that "Nipah" is more than a false narrative or a framing of their vaxxAIDS stirring up trouble, their destroyed immune system turning their still-living bodies into incubators for all sorts of pestilence.The general public is told this is a novel problem. I suspect it's the same old Jewish depop plan simply hitting the next stage of development as intended.
>>528179260Yeah because it was such a big issue last time
>>528180674BTW, i made LLM to think for few minutes to spit out this analysis. I agree with it more or less. I would answer in a similar way.
>>528181041Invading jeets are also a convenient vector for anything transmissable. Tell the jeets it's a requirement for their work visas, juice 'em up, then release them into the target societies.
>>528182029
>>528180674Then why they killed Andreas Noack?
>>5281651012 more weeks, eh? 2x vaxxed, and still boosting. enjoy your cold winter
>>528182554No one cares about your srat gtp false god. Will not even read. It’s not the argument you think it is. Instead: >Andreas Noack who was a leading expert on carbon and graphene structures. He made a 20 or 30 minute presentation about it reports came out in Japan it was found some of the Covid vaccines. He said it was akin to putting nano sized razor blades in the veins. His apartment was raided and he died 4 days later. Watchhttps://www.bitchute.com/video/k2Q9aJo9CWDU/
>>528179704Yes u could just lose ur job and family and not pay ur mortgage and lose ur house lmao
>>528167036
>>528182738It’s my 5th winter of “severe illness and death” of covid Unvaxxed, btw And never sick Attended 4 vaxxies funerals in a span of 1,5 year thoAmazing experience, I have front row seat in this genocide. And I can only watch.
>>528182592>Andreas NoackI dont know the guy and i already explained why using a modRNA/LNP gene therapy as a long term covert killer is incomparably more rational than injecting people with a fkn graphene. First one leaves no forensic traces, you fkn moron xD
>>528165101I'm glad I wasn't dumb enough to volunteer to be culled like a goyim.Wait you people actually trusted (((big pharma))) and (((the government))) and ((the media))) what are you retarded? LOL. Couldn't be me.
>>528182029The kikes had a test run for this with the artificial sweetener Aspartame in the 80's and 90's. Aspartame side effects mimic the symptoms of many actual diseases - but because those symptoms aren't caused by the expected diseases the standard treatments don't work.But because the politically powerful were behind getting Aspartame approved (Donald Rumsfeld in the first Reagan Administration, specifically - read the story of its FDA approval, it's sickening) the real cause of all these new untreatable symptoms was never identified.mRNA vaxx is the same idea but applied first for the side effects and only secondarily for the profit.p.s. Aspartame was why Michael J. Fox went 11/10 faux Parkinsonian soon after becoming celebrity salesman for Diet Pepsi and drinking the stuff like it was water.https://www.youtube.com/watch?v=Ki7GBduv7fs
>>528182592>"no ack">dies anywaywho writes this shit
>>528182979You are here to direct discussion about the vaxx in the only one direction and it’s malicious. People are literally emitting 2.4 ghz and it’s easily provable. Your hubris is disgusting the same as your retarded >xD Immediately making you look retarded and childish. Get in the oven kike
>>528168631the official term is "vaccine regret". even msm are reporting on it.
>>528183277>You are here to direct discussion about the vaxx in the only one direction and it’s malicious. People are literally emitting 2.4 ghz and it’s easily provable. Your hubris is disgusting the same as your retarded >xD>Immediately making you look retarded and childish.>Get in the oven kikeYou and your glowing theories taken from the ass were a main reason for which such people like Ewa Koziol Ofiarny (>>528172014) got injected with a toxic gene therapy. They sound so idiotic that make even the "safe and effective" slogan appear as extremely plausible/credible. This world really doesnt need more of Alex Jones xD
>>528182979>Andreas No-ACK
>>528168379I am a composite of weaknessLike a movie made of a million frames
>>528183521>i don't understand how it works it means not real >my electronic LLM rabbi confirmed whoopsie daisy, what is this?https://patentimages.storage.googleapis.com/29/d1/ca/18013ced0621f0/US9539210.pdfno more (you)'s for jew
>>528183695I knew what the LLM would tell because i knew the correct answer. I did this only to impress such idiots like you xD
>>528183695wooohoooo muh scary mrna, focus on this goyhttps://patents.google.com/patent/US11107588B2/enbtw I know about the upcoming activation too.
>>528176074You have schizophrenia anon
>>528172541>Pray it's not a subhuman savannah nigger that's eveyones savior.Other than the jew, niggers are the only ones that didn't take it.
wooohoooo
>>528184096
>>528182881Ian Hudson sounds like someone Bill Gates would have partied with on Epstein Island.
today i will remind them
>>528165101Man those Bioweapons fucking suck man. Less deadly than the Virus itself.
>>528183277>Your hubris is disgusting the same as your retarded >xD>Immediately making you look retardedKike shills are always so obvious.
>>528183975Nohttps://www.bitchute.com/video/2W2bnVTmDKZ5
hit them with your caaaaar
>>528184501This is the mark of the beast
who is charles lieber?
>>528165101>Goddamn, i heard about this guy but i had no idea that he was liquidated xD>Anyways, everything he said is true, if we talk about modRNA/LNP technology. I do confirm, true to the last letter.>Some related stuff:>Col. Douglas Macgregor interviews Dr. Francis Boyle (Rumble, June 2024): he discusses midRNA as a bioweapon in the context of bioweapons treaties, gain-of-function, and related topics.>https://rumble.com/v520cfu-douglas-macgregor-interviews-dr.-francis-boyle-expert-on-bioweapons-treatie.html>Stew Peters Show clip (referenced widely, including on Rumble): Boyle calls the COVID vaccine a DARPA bioweapon.
>>528176074All of that sucks but you weren't going to go to heaven either way, since it's fiction.
>>528184594he's jewish so churka doesnt care
>>528184630You will burn in hell forever
>>528184557most probably, yesjew is making these threads to turn attention from nano to muh mrnaboth can be true at the same time, but looking at his butthurt seems he is indeed a glowie
>>528184754Who gives a fuck. Cattle took the killshot blah blah blah. They deserve it, and I’m tired of pretending otherwise.
>>528168151I worked with a lady who started out adamantly saying the best way to deal with covid in her opinion was "herd immunity" not vaccines. By the end I remember her saying she didnt care who made it she just wanted the vax and bragged about being on her 4th shot.This is how fast NPCs can be controlled and manipulated by government and media.
>>528184943They can spread the vaccine and nano technology to you through shedding
>>528184096>>528184326>>528184380>>528184754Forced head turning (versive deviation) is a common and well-documented feature in epileptic seizures, you fkn moron xD Especially focal ones originating in the frontal or temporal lobes. It often occurs at the onset or just before generalization to a tonic-clonic seizure with head turning away from the seizure focus side. This characteristic movement precedes collapse and convulsions.
>>528184724he even kinda admitted to being a spook in previous posts lmao
>>528165101>Goddamn, i heard about this guy but i had no idea that he was liquidated xDHe wasn't. His death was natural - pneumonia. This entire narrative about him being assassinated is something coming from the likes of The People's Voice, Sean Adl-Tabatabai, and Sasha Latypova, who are all glowies.I'm acquainted with someone familiar with the circumstances of Boyle's passing directly.>t. Bio-warfare Tom
>>528184984>>528185147sven cloth-stealer anon, Tom, long time no see frens.
>>528184984No they can not you fucking retard.
>>528185225I would suggest you read thishttps://www.researchgate.net/publication/365361839_Current_state_of_knowledge_on_the_excretion_of_mRNA_and_spike_produced_by_anti-COVID-19_mRNA_vaccines_possibility_of_contamination_of_the_entourage_of_those_vaccinated_by_these_products
>>528184749why memeflag Sven? how you doing? drinking less?
>>528185147>His death was natural - pneumoniaAn official death reason might be absolutely anything in such cases. Spooks can use ricin, saxitoxin, fungal spores etc for this purpose.
>>528185217>>528185364Hello Slavik, I am sober 98% of the time now. I was sent to rehab home and stayed there for 6 months until a tough guy gangster threatened me.I looked on the yard and found a large rock/stone and I hit him in the back of the head, there was blood everywhere. Went to court, and instead of prison I got probation and will have to attend weekly meetings with police. :3Nice to see you again
aahhhh muh mrna
>>528185294I wont. The whole premise is retarded. The elites wouldn’t risk introducing something that could harm themselves. >b-but they have an antidote..There’s no reason to overcomplicate things when you can just manufacture a shot that destroys reproduction and introduces random cancers in future generations.
>>528165889factor in the acceleration of the regular inflation due to the recession in productivity and commerce parity got raped multiple times except when you were operating a "testing booth" and made big $$$ from the "measures" imposed on the cattle or a clinic of sorts that administered the shot or housed "patients"
>>528185387Arsenic is usually the poison of choice.
>>528185513>I looked on the yard and found a large rock/stone and I hit him in the back of the head, there was blood everywhere.extremely based. Congrats on your sobriety, bro. are your symptoms better once sober?
>>528185387>An official death reason might be absolutely anything in such cases. Spooks can use ricin, saxitoxin, fungal spores etc for this purpose.
>>528185684The burning of my skin disappeared mostly when I got to the home. I still see ai rendered images when I close my eyes, and i hear computer/signal frequincy noise in brain. God has not forgiven me or returned, so i know there is no forgiveness for the mark of the beast.Ignore finland anon he is retarded and ignores the truth
>>528185669>Arsenic is usually the poison of choiceMore like 200 years ago xD
>>528169872What about the vaxxies' arm turning magnetic and their bodies emitting a MAC address?
>>528168151Same, based retard.
>>528185838Nah it’s still in use. Jesuits love paying homage to their history, and it’s also about the message.
>Job threatened>Family all threatened me>Went and got the Jab, but no boostersSo far, I've noticed nothing bad in my health of note, but I definitely don't feel like getting the shot was the right move. I hope maybe I can flush all of this shit out of my system by dry-fasting somehow. That actually has some merit cause it activates autophagy and breaks down bad shit in your system.Good luck dry-fasting, though. Most people can't do it comfortably. They lack the discipline, but then again I caved into peer pressure and the threat of not having a salary.If it comes down to hunting down Kikes on the streets, I'll join the Chuds, however. God damn I fucking hate Jews with a passion.
>>528185866checked.this kike with PL flag have a job here, hece millions of his threads. his using 'xD' so his mossad bosses can find his posts easily. his job is to completely focus conversation about the vax to genetics/mRNA angle, and completely ignore other properties of bioweapon.
>>528185769have you been to church since? have you tried confession/ eucharist ?
>>528185684Image of tough guy
>>528186198His threads are interesting, LARPing or not.I find his mention of being a jew concerning though
>>528186238The church i visited was heretical nonsense
>>528186050You cant "un-vaccinate" yourself in case of a gene therapy injection. It is irreversible. There is no "detox" xD German bodybuilder Jo Lindner developed health issues after being "peer-pressured" into multiple "covid vaccines". He underwent plasmapheresis (plasma exchange) twice to detox blood, including attempts to remove alleged spike proteins or anomalies. Despite this, he died at 30 from a ruptured aneurysm in 2023, after few days of minor neck pain. If plasmapheresis doesnt help, it means no "detox protocols" based on some shady pills can help either xD
>>528178843those waivers mean nothing if it can be proved that the vaccine was designed to harm people
>A quantum dot (QD) mesh can be transformed into a functional 2.4GHz emitter by integrating it with a graphene-based plasmonic launcher, dramatically increasing emission efficiency while keeping the structure extremely small. On their own, QDs can act as nanoscale dipole oscillators, blinking under optical or chemical stimulation, but their emission is weak and mostly confined to near-field effects with poor coupling to free space.By placing this QD mesh in close proximity to a carefully shaped graphene spiral, flake, or edge-launcher geometry, the local dipole oscillations of the QDs can excite surface plasmon polaritons (SPPs) in the graphene layer. These SPPs act as slow-wave modes, compressing the effective wavelength and allowing RF resonance and energy collection within a much smaller structure—orders of magnitude smaller than the free-space wavelength/4 (~3.1cm at 2.4GHz).Instead of needing a full resonator, the QDs distribute energy into the graphene structure, which funnels and reradiates it efficiently at 2.4GHz, effectively acting as a nanoscale antenna. This hybrid can emit BLE-like signals from a structure as small as 50–200µm in diameter, making it plausible as a stealth emitter embedded in biological or polymer matrices. The graphene dramatically boosts radiation efficiency while preserving the QD mesh as the core oscillator array.
>>528165152>I'm unvaxxed myself but what's even the point if all my family took itsame anon. Actually my cousin had a baby after taking it that is still healthy 2 years later but who knows what effects are passed down to offspring.
>>528186273haha nice one. was he bigger than you? what were the threats? I'm surprised he looks white I imagined a sandnigger of sorts
who remembers vaxxie detector anon? also posting for newfags Reminder they are introducing the black goo also in other injectables.Microscopic analysis of a drop of blood from a person “vaccinated” with Sinopharm:https://www.laquintacolumna.info/translations/microscopic-analysis-of-a-drop-of-blood-from-a-person-vaccinated-with-sinopharm/self assemblying nano material vaccine:https://lifeoftheblood.com/nanotech-in-the-shots/Laquinta:https://www.laquintacolumna.info/docs/docs/IDENTIFICATION_OF_POSSIBLE_MICRO_TECHNOLOGY_AND_ARTIFICIAL_PATTERNS.pdfSelf assemling nano tech accelerates ((building)) when introduced to EMF.Microscopic analysis:The secret is graphene.Once you understand what graphene does to the body, all the side effects make sense.Papers on graphene toxicity:https://www.laquintacolumna.info/docs/docs/campra-informe-toxicidad-en.pdfLevobupivacaine ((denstist painkiller injectable)) manufactured in 2012 with expiration date in 2017, contaminated with graphene oxide.https://www.laquintacolumna.info/translations/english/levobupivacaine-manufactured-in-2012-with-expiration-date-in-2017-contaminated-with-graphene-oxide/Microscopic observation of the content of “injectable products” by the Next Dose team:https://www.laquintacolumna.info/videos-de-interes/microscopic-observation-of-the-content-of-injectable-products-by-the-next-dose-team/Microscopic analysis of a drop of blood from a person “vaccinated” with Sinopharm:https://www.laquintacolumna.info/translations/microscopic-analysis-of-a-drop-of-blood-from-a-person-vaccinated-with-sinopharm/Light microscopic analysis of the calendar hepatitis B vaccine:https://www.laquintacolumna.info/translations/light-microscopic-analysis-of-the-calendar-hetatitis-b-vaccine/It's everywhere. Graphene nano tubes, nano ribbons, in every fucking injectable on the market. I warned you.
>>528186401>If plasmapheresis doesnt help, it means no "detox protocolslmao
>>528165101Vaxxies have prion disease
>>528186905Vaxxies are HELLBOUND with prion disease
>>528186600He was normal sized. He threatened a guy at lunch infront of the workers and nobody did anything, so I decided to avoid this person because he was very aggressive and picked fights with people over nothing.One night he came up to me and demanded me to clean up the water i spilled in the washing rooms. He didnt ask nicely, but aggressively and I decided to not let him boss me around so I said firmly "No, I wont clean it up" and he said "Yeah you are going to clean it up or you get beat".I ignored him and went to sleep, the next morning I was drinking apple juice and he went straight up to my face and said he was going to beat me up for not cleaning up the spilled water, and his cat-stealing friend pulled him away because there were too many witnesses in the dinner hall.Anyway I knew he was planning to beat me up so I looked around and found a rock and put it in my pocket, I also put on my special Metal tip shoes and went out to smoke and he came out and started laughing at me and disrespecting me, so I swung the rock in his head and then i kicked and broke two of his ribs with my shoes. There was blood shooting outta his head and then bolice arrested me
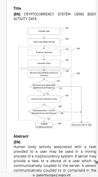
funny no one is asking themselves HOW exactly will they mine crypto inside human bodies?not using muh mRNA, for sure.>Report said explicitly that “the objective of Cognitive Warfare:Western governments in the NATO military alliance are developing tactics of “cognitive warfare,” using the supposed threats of China and Russia to justify waging a “battle for your brain” in the “human domain,” to “make everyone a weapon”Summary:https://thegrayzone.com/2021/10/08/nato-cognitive-warfare-brain/Full report:https://www.innovationhub-act.org/content/cw-documentsThey try to bring you on your knees by using the full spectrum of neuroscience and psychology against you.„Devices and bodies to generate ID”11107588b2 Patenthttps://m.youtube.com/watch?v=wD-Aj08mFt0https://patents.google.com/patent/US11107588B2/enThey have already stated their intentions openly. Mind control is on the table.>https://thegrayzone.com/2021/10/08/nato-cognitive-warfare-brain/>https://archive.md/eOVVO>https://www.innovationhub-act.org/sites/default/files/2021-01/20210122_CW%20Final.pdf>A 2020 NATO-sponsored study of this new form of warfare clearly explained, “While actions taken in the five domains are executed in order to have an effect on the human domain, cognitive warfare’s objective is to make everyone a weapon.”>“The brain will be the battlefield of the 21st century,” the report stressed. “Humans are the contested domain,” and “future conflicts will likely occur amongst the people digitally first and physically thereafter in proximity to hubs of political and economic power.”patent 202060606https://patentscope2.wipo.int/search/en/detail.jsf?docId=WO2020060606Internet of Bodies Grid WEF:https://www3.weforum.org/docs/WEF_IoB_briefing_paper_2020.pdfhttps://horizons.gc.ca/en/2020/02/11/exploring-biodigital-convergence/?
>>528186340yea guy's first hand clown gotta give him that
>>528187139fucking kek why is this so funnyI'm honestly impressed you threw it so perfectly, to the target, I would probably miss, and by alot>and his cat-stealing friend pulled himso cloth-stealer met the cat-stealer? bhahahahah what's the fucking backstory
>>528165101Suspicious, but it is strange that the article makes ZERO mention of the cause and circumstances of his death. Did he commit suicide? Heart attack? Fell down the stairs? Drown in the bathtub? Overdose on prescriptions?The author of the article failed to mention this for a reason. Also, I’m pretty sure anybody can be published on Medium. They have virtually no vetting or editing process.
My threads usually slide down or are attacked by tasked spammers. I dont know which is worse xD
i am also in the ''it's both group'' of people in observance of these phenomena. for one its obviously the vaxx genocide, but its also about embedding people into the telecommunications grid, and most of it, it seems apart from the vaxx genocide, was first and foremost to collect data and observe adverse reactions, and field test theories. Together with the mass murder and the infertility crisis, prions stuff that is the other purpose. Sad to see that xD poleanon doesn't aknowledge this and therefore seems more kiked.
>>528187367https://www.bitchute.com/video/2W2bnVTmDKZ5>>528187546I didnt throw i held it like a cave man and smashed him in the head. >cat-stealerHe was tall like me, 193 cm, took someones cat, and accused the other guy of pulling the cats tail. I told him the cat belongs to the other guy which made him mad.I think cat-stealer and the guy i beat up planned to ambush me, both didnt like me. I had to be strategic and decided to make the move before they catch me off guard.
>>528165101Not surprising. I'm pretty sure I remember this guy on Alex Jones. He outlined the whole fucking thing. That was a few months after the whole grift started.
>>528184081Isn't THAT some funny shit? All the years of "I don't trust Whitey" and it turns out they were exactly right:)
>>528187304https://www.bitchute.com/video/9hsrCAGAovXD/Cemetery Filled With Bluetooth Signals As Dead Vaccinated Emit MAC Addresses From The Gravehttps://www.bitchute.com/video/g5VMGP6j60Rd/At 24:00 it shows the unvaccinated but swabbed giving off bluetooth signals.Many phones have probably been "patched" to prevent detecting vaxxies with bluetoothMore threadshttps://archive.4plebs.org/pol/search/text/bluetooth%20gun/filter/text/Intra-Body Nano Networkhttps://www.bitchute.com/video/vihyZDuiFjoD/Scanning for vaxxieshttps://www.bitchute.com/video/5li7c44yKwJB/https://www.bitchute.com/video/NvWaLpA7iyOW/DARPA hydrogel, it’s assembling after being introduced intravenouslyOriginal bluetooth anon post:https://archive.4plebs.org/pol/thread/427270907
>>528186858What's going on there?A dog eating its own shit?
>>528187862>Sad to see that xD poleanon doesn't aknowledge this and therefore seems more kiked.THIS. anyway, for posterity:Charles Lieber was a colleague of Robert Langer, one of the cofounders of Moderna. He was also indicted by the DOJ for fraud:https://www.justice.gov/opa/pr/harvard-university-professor-and-two-chinese-nationals-charged-three-separate-china-relatedhttps://www.pnas.org/doi/abs/10.1073/pnas.1705509114>TLDRSyringe-injectable mesh electronics integrate seamlessly with minimal chronic immune response in the brainhttps://govtribe.com/file/government-file/hr001118s0029-hr001118s0029-dot-pdfhttps://pubmed.ncbi.nlm.nih.gov/33686282/https://www.youtube.com/watch?v=N02SK9yd60s [Embed]One of the founders of Moderna, Robert Langer, is buddies with Charles Lieber, a bionanotechnology expert from Harvard whose papers explicitly describe the use of silicon nanowires as BCIs.https://www.battelle.org/site/battelle-applied-genomics-today-newsletter/featured-experts/guarav-sharmaIt's because he was taking money from DTRA, the same agency that funded EcoHealth Alliance, to look for ways to penetrate the blood-brain barrier, as part of DTRA's Blood-Brain Barrier Program. nanotransducers go inside the human brain and be powered and controlled wirelessly with electromagnetic fields, which, in turn, is part of DARPA's N3 program to make nanoparticle-based nonsurgical wireless neural laces. Charles Lieber, that Harvard scientist that was charged with fraud for taking money from China's Thousand Talents Plan, was also receiving grant money from the DOD (DARPA, ONR, AFOSR, NIH, and MITRE), and his papers contain descriptions of how silicon nanowires can be used to form the basis of a nanoparticle neural lace (see N3, Next-Generation Nonsurgical Neurotechnology).https://govtribe.com/file/government-file/hr001118s0029-hr001118s0029-dot-pdf
>>528186976Vaxxies are fucked with prion disease
>>528187598Doesn’t matter, they can say that he slipped on a pineapple and you still won’t do shit
>>528188116its russian elite airborn trooper getting hydrated
>>528165259According to results at howbadismybatch.com some batches of injections were significantly worse than others, raising the possibility that certain areas of USA and of the world were targeted specifically to cause the most damage to fertility and premature death. I don't know if anyone still has their lot number but if you do, you can check it. If cross references from VAERS data.
>>528188297Cool story memeflag, too bad evidence isn’t a part of it
newfags don't even remember Spartacus anon
>>528184594he was a harvard professor that took big money from china to help develop bioweaponsthe corruption baffling>lol
>>528188441For instance I'm the SF bay area, adverse events were notably lower than other places. Did they get "good batches" or perhaps even saline? To save all the good goys with correct globohomo views there?
Nano tech papers- full bundlehttps://www.richplanet.net/nano/
>>528187863>took someones cat, and accused the other guy of pulling the cats tail. I told him the cat belongs to the other guy which made him mad.hahaha I fucking can't, you made my day lmfaooo
>>528188251Neurotech is developed for DBS, BCIs, neurorehabilitation etc, not for "mind control", you moron. The human livestock is being perfectly "mind controlled" by standard means such as government propaganda and mainstream media. You dont need neurotech for this xD
>>528188468Denial won't save you, vaxxie, from PRION DISEASE
This is Dr. James Giordano giving a speech before cadets at West Point. This is not a random kook. James Giordano is a PhD and former Navy airman, and currently works in drafting neuroethics policies.https://www.youtube.com/watch?v=N02SK9yd60sHere he is describing the same stuff in more intimate detail:https://www.youtube.com/watch?v=2Zp8nHYegqIAnd again:https://www.youtube.com/watch?v=BKy9HT4vktMThe DARPA BRAIN Initiative involves the design of wireless BCIs. That is, mind control devices.>https://www.darpa.mil/news-events/2019-05-20This is the grant paperwork:>https://govtribe.com/file/government-file/hr001118s0029-hr001118s0029-dot-pdfGot all that down? Now, what if I told you that people involved in vaccine research are directly linked to the same military think tanks responsible for nanoparticle mind control devices, and that one of those people is, in turn, linked to research facilities in Wuhan?>Spartacus Letter V4: https://mega.nz/file/yN8CWJ4I#v2eqhAyT3VPBRMt67l3Yg6AMOjU_OH9nP0BfAEPfxQw>Mission Statement: https://mega.nz/file/WF8gHRKZ#ACNrO1xcYI2xCSu3b_31N4Hm8RZmKmVnub5Bm_z0Tqc
ahhhh the kike glowie is outing himself, and that's a good thing!https://www.grants.gov/grantsws/rest/opportunity/att/download/271279Technical Area 2 of the N3 program describes a "nanotransducer", which can be introduced into the body by way of "ingestion, injection, or nasal administration", introduced into brain cells by means of "a self-assembly approach, viral vectors, molecular, chemical and/or biomolecular technology delivered to neurons of interest to reach single neuron resolution (<50µm3)", and with the ability to be operated by way of "different types of signals, such as light, magnetic/electric fields, radiofrequency, an neurotransmitter/ion concentrations", ultimately, with the goal of achieving "both neural recording (read out) and neural stimulation (write in)".Dr. Gaurav Sharma. What else has the good doctor worked on?https://www.battelle.org/site/battelle-medical-devices-updates/featured-experts/guarav-sharma>He was also the lead investigator for the Blood-Brain Barrier (BBB) engineering program, a Defense Threat Reduction Agency (DTRA)-funded project aimed at developing nanotechnology-based strategies for delivery of drugs to the brain.The same DTRA based out of Fort Belvoir that sent millions of dollars to Peter Daszak's EcoHealth Alliance and, by extension, the WIV.What was the Blood-Brain Barrier Program all about?https://www.dvidshub.net/news/204956/early-successes-dtras-blood-brain-barrier-program-suggest-new-countermeasures>The team produced an extensive library of human single-chain antibody fragments and identified several that are highly selective for BBB transport during recent in vitro and in vivo testing. In parallel, the team is exploring the engineering of new antibodies targeting a known BBB transport pathway mediated by the transferrin receptor, in order to improve the speed and selectivity of molecular uptake by this pathway for drug delivery purposes.https://www.ncbi.nlm.nih.gov/labs/pmc/articles/PMC7264936/
>>528174393he was on a small boat with a black bitch
I can feel you sweating, kikethread went not the way you like....physician with a PhD in molecular biology named Dr. Luis Miguel De Benito, who performed an experiment regarding these Bluetooth codes or MAC addresses.To begin, he isolated his office from stray signals and ensured that he wasn’t picking up any codes from devices like printers or cell phones. Then, when he had patients come in, he would ask them if they had been vaccinated for Covid and check for their code. If they answered that they had been and were emitting a code, he asked them to turn off their cell phones, and ensured that the code remained.The results of this experiment were that 100% of people not vaccinated for Covid did not have a code, but 86% of people who were did have a code. He further explains that multiple unique codes are possible from one batch of the vaccine due to interactions with the patient’s genetic code, DNA, or something like the HLA gene. He performed this experiment with 137 people, and 112 reported that they had been vaccinated and 25 reported that they hadn’t. His conclusions are as follows:Of the 137 patients questioned, 112 said they had been vaccinated, and 25 said they hadn’t been vaccinated. None of the patients who said they hadn’t been vaccinated registered on my cell phone any device available for Bluetooth connection, having ensured the disconnection of their cell phone, if they had one. In 96 patients of the 112 who said they had been vaccinated, 96 of the 112 having switched off their electronic devices if they were carrying them, a MAC code remained on the screen of my cell phone, which I had already noted in my notes next to the patient’s medical history.This “smoking gun” experiment can be repeated by anyone wishing to verify the validity of these codes
>>528188974Self-assembling nanoparticles = LNPs. They are a standard ingredient of any Pfizer/Moderna vial. xD
>syringe-injectable mesh electronics
whoa whoa he's panicking
>>528189205I am just being frustrated because you shitted my thread all over with some human-internet-of-things graphene/neurotech bullshit suggesting that the goal of "covid vaccination" was creating a hivemind. Meanwhile the truth is that "covid vaccines" were toxic gene therapy platforms whose only goal is a depopulation xD
shhhhhhhh anons aren't you sleepy?go to sleep, take a nap, focus on muh mRNAFORGET EVERYTHING ELSEhttps://www.researchgate.net/publication/355979001_DETECTION_OF_GRAPHENE_IN_COVID19_VACCINES
HAHAH yeah he's sweatyyyy>dear goyim, focus on what I WANT you to focus>listen to LLM rabbi>no no no to niedobra jest, no nano tech subject allowed!!! oy vey!! the goyim know
>>528188748You dont need first order mindcontrol to mess with people and introduce second order minddisruption via immediate stress or mental/neurological inhibition. If you used your imagination for a second you woud admit that the potential for it is there, and the necessity for the high yield grid expansions that we have besides something like that is absolutely marginal and unecessary. together with all the other by now ancient tech for remote pseudotelepathic thought recognition. Just anything that gives mappable data remotely about bodily functions in realtime, conjoined with some in and out of pseudotelepathic kind combined with anything that produces or coproduces sensory data. Hook it into partly predetermined languages on a server. observe the outcomes and map them, rinse and repeat for finding out population control patterns. or anything that creates second or first order effects of a more ''esoteric'' inclination can be used in this fashion, like. Globohomo retards are also first and foremost ''occultist'' retards. They think of themselves as fundamentally superior and therefore think its open game to experiment on the general population, to then reap that ''research'' for fruther population control or personal augmentation, this is from the same venue as culling the population.achieving pseudotelepathy through technological means, while being a retarded thing, is something that they sure would work towards, if that means dominating plebs and giving themselves some kind of perceived advantage that is. If you look at it you see consistency pointing towards it. You can also see that they didnt like the result, as it makes them feel marginal, and as they are hated by the general population.You dont need people sitting somewhere with a rc joystick controller being the endgame to imagine this to be relevant. The imagination doesn't rlly have limits in regards to this. Also it's odd of you to shill for it as being benign technology
>>528189400Fr, these niggas think that the elites want the cattle to be a part of the hivemind lmfao
obligatory
>>528189400>I am just being frustrated because you shitted my thread all over with some human-internet-of-things graphene/neurotech bullshit suggesting that the goal of "covid vaccination" was creating a hivemind. Meanwhile the truth is that "covid vaccines" were toxic gene therapy platforms whose only goal is a depopulation xD
>>528189869>only goal is a depopulationthis retard is so transparent and obvious it's even funny. >ONLY GOAL>THERE ARE NO OTHER GOALS IN THIS GOYIM>PINKY PROMISE TRUST ME IT'S NOTHING ELSEThe kikery is oozing from him, I guess they can't help themselves
>>528189626Dude, the most advanced neurotech like Neuralink implant can barely help a paralyzed person to "control" external devices in a very limited way. Low bandwith, read-only, requires invasive surgery, it barely does any cursor/speech control etc. And you want me to believe that people were injected with much more advanced neurotech in nanoscale, that turns them into zombies? The "covid vaccinated" are not titans of intellect indeed and resemble zombies in aspect of their faith in narratives pushed by their local governments but cmon... Stop being silly xD
>>528182804
>>528189626for example. a simple instruction like: Go to this place, can be embedded in a specific area and have variable requirement for the complexity behind it to make it a readable instruction, via instigating accute stress remotely, combined with some instructions.Anything with lots of small detailed instructions in short succession after it is more difficult of course, and unlikely to be feasible to yield actual immediate results, especially if a subject would be aware of it in my opinion. But doesnt change the intent and criminal nature of it. And its pretty obvious that the tech exists and is used on parts of the population. i cant really think about how realistic it is comparatively to actually result in real time instructions like you would excpect from an rc car, but you know that is not necessary either for the other kind of instruction to have a big yield on using it for say economic milking purposes, surveillance, ''research'' and so on. >>528189818the other way around. why would i want to be part of a hivemind made up of buttfucking homosexuals, that hate life and nature, especially if it refuses to give them an advantage, also in the face of immoral crap.
>>528184161
>>528165101He was a professor of LAW so his opinion on the origins of a virus means about jack shit. He was also 74 years old so it's not exactly surprising he keeled over.
>don't be silly goyim hahah it's impossible>P-please stop talking about it>P-please, it's bullshit, I am telling you>L-look, my electric rabbi confirmed!annuda shoaah!
>>528185418
>>528190253based fren, I remember youcheers!
>>528174393>surrounding himself with heavily armed ex-military guardsthat's where he fucked up. these guys often have shady pasts and many have done "contracting" for intelligence services.
>>528178975>The virus was/is a nothingburger.No it was something that caused widespread smell/taste loss in the unvaccinated.
>>528190360My theory creates more severe consequences, because it claims that elites simply want to murder you because limited non-renewable resources you consume are currently worth more than your life value and value of job you do for a living. They also engineer this democide amid AI/advanced automatisation that deems most people simply useless. My theory is based on current scientific consensus postulating reduction of human population to 0.5-2B amid biocapacity limits and resource depletion.You, on the other hand, try to push unfounded narrative that elites struggled to inject the dumb, already-fully-controlled human livestock with a nano-neurotech (that doesnt exist) to turn them into a hivemind dancing macarena in synchronized way. xD
>both can't be true at the same time NOOOOO>p-please, listen to my electric rabbi >N-no I will not acknowledge even one paper or patent posted ITT, b-because reasonsKYS
>>528190192>>528190192think it's enough to inject someone with anything that gives a positive response to a signal, and have it distributed to groups of cells that should react to the stressor.Then you can use directed radio comm to introduce some degree of pseudotelepathy for example, but you dont even really have to. the stressor response is sufficient actually, if you have a good enough map of interactions and stimuli that you place beforehand. I wuoldnt know how it is for people whose nervous systems dont actively work against it maybe its more easy to embed actual information in it.So anything that gives a controllable stress reaction to directed radio energy, in response to premapped stimuli (in the ''map'' or ''landscape'' where you have people run around) like for example pictures or ad hoc stimuli like radio comm is sufficient. Potentially scrap what i said about a uniquely readable instruction like go to this place, if you want to, its irrelevant. But generally, just evoking a stress response for example, and knowing the outcome of this stress response as: Place, safety, soon, with more weight for one point rather than another is enough to make someone go to a place.Add to it that hubris btw of saying this tech is to be worshipped because mysterious or only for elites. A classical control tool for retards. It would actually be pretty simple.>>528190360desu if i was xD anon and earnest i would think about you potentially being a slide shill too. You made your point, maybe be more respectful. xD anon talking about mrna and lnp is very valuable too imo.>>528190791you also dont make it easy
>>528190791Exactly, cattle is already fully controlled but they consume too much and robots are better at the job. We are currently in the training our replacement phase.
>>528190500Henlo fren, cheers! Fight the good fight---Use the "NRF Connect" app on your phone after setting it in developer mode. Scan for devices that claim to be connectable but time out when you try to connect. Those are vaxxie candidates. Use the RSSI to verify your distance. It will take you right to the injection site.https://play.google.com/store/apps/details?id=no.nordicsemi.android.mcp&hl=en_USBluetooth signals show up in vaxxed blood after 1.5 hours, shown at end of the video. They mix unvaxxed blood in a vial with the mRNA mark of the beast poisonBluetooth experiments starts at 23 minutes:https://rumble.com/v43eig2-documentary-next-dose-iii-do-we-still-need-more-proof.htmlDIY low energy bluetooth detector plans:https://www.youtube.com/watch?v=gvxqg0vxhrQhttps://www.youtube.com/watch?v=_-d2d6Vc3lg [Basic Arduino Setup]youtube.com/@mothunderz [Deeper Technicals][New Vaxxmaxx normie detector script using USB Bluetooth Adapter on a laptop]Open source python script to detect all BT signals & log results. You can modify the time of the scans and filter the results based off of signal strength. The idea is that you could replicate the experiment outlined in webm attached but perform it in a non-isolated settinghttps://pastebin.com/YzdHfnA7Also https://pastebin.com/Q3b0y8cjPray for divine intervention to prevent 5G pulses from activating vaxxie hydrogels to release the 2nd stage toxinshttps://odysee.com/@JVDW-Music:0/MARBURG-ZOMBIE-APOCALYPSE:8 (Dr. Rashid Buttar, killed May 18, 2023)archive.4plebs.org/pol/thread/475282766Nano Routers, the self assembling nano tech in the shots uploads data to a server:https://odysee.com/@bambaferko:7/Ricardo-Delgado---All-mRNA-Jabs-contain-Nano-Routers:9Internet of Bio-Nano Thingshttps://ieeexplore.ieee.org/document/9467302
>My theory is based on current scientific consensushahaha the midwit outing himself>nano-neurotech (that doesnt exist)>(that doesnt exist)hahah get a load of this jew! bhahahah
>>528191069and readable information also would exist btw.
>>528191007They cant be true because a nanoneurotech you imply in your posts basically does not exist. Moreover, even if it existed, it is a waste of resources to inject humans with soohisticated mind-controlling nano-devices if you want to expire them prematurely. It is an absurd. Last 5 years are the best evidence that you can cull people only with using MSM and state propaganda. Not even one person responsible for tens of millions of excess deaths caused by "pandemics" was prosecuted/sentenced which means that you can mass-murder human livestock with full impunity, only by using TV propaganda
>>528191170Watch Utopia bro. Preferably the UK version since its better than the US. They tell you what the plan is.
>>528191069I will not be respectful to obvious fucking glowie. I have amazing experience with brigade 77, anon. I was in the subject from the very beginning. Anons remember me. I never tried to act like mod Mrna angle was false, all I'm saying it's very VERY possible for it to be BOTH angles at the same time, maybe even more. And I am the bad guy? That's he, who claims shit spitted out of jewgpt as his own words.He is not even acknowledging, it should tell you everything. are you new here?
>>528165101"testify for the prosecution," Bill Gates was never charged with anything.FAKE STORY. What is your IQ that you didn't notice this right away?
Vaxxies have prion disease
>>528191414whats the point of injecting them with nanotech?
>>528191543He was set to testify in a Dutch lawsuit alleging mRNA vaccines are bioweapons violating international conventions he helped draft
>>528191567why aren't you reading the patents and docs I posted right now?contact tracing, kill - switches, crowd control and MANY morebut let's start with mining crypto inside human body for future financial system, shall we? patent 2020 60 60 6>>528187304https://patentscope.wipo.int/search/en/WO2020060606
>I have muh glowie frensme too, nigger
>>528171973Get you done 10g bro.
>>528165259Mine did it for free. Not sure what’s worse lol.
>>528191973Okay sure, maybe for the survivors but they need to depopulate first
>>528191973>mining crypto inside human bodyHuman body at rest produces 100W metabolic power. Bitcoin mining requires thousands of watts per rig. Even harvesting all metabolic energy from 8 billion humans would yield far less usable power for crypto mining than required.
>>528192207ofc. it's obvious. I never said otherwise.
>>528190791>You, on the other hand, try to push unfounded narrative that elites struggled to inject the dumb, already-fully-controlled human livestock with a nano-neurotech (that doesnt exist) to turn them into a hivemind dancing macarena in synchronized way. xDMeanwhile in reality:Elon Musk: You can be chipped through your blood veinhttps://www.youtube.com/watch?v=hKcKRk7D87U&feature=youtu.be
>>528165101>mRNA are american bioweapons but every other country around the world also used them without ever checking what was inside the vaccine.>"numerous" other doctors and whistleblowers having died being like two other elderly dudes that were relevant over 35 years ago and died of natural causes
>>528192320They 100% see a demon or angel of death coming for them
>>528168151real
>>528192320So yeah i dont think the technology is there yet and i still think the main goal is to replace normies completely with machines
>>528190154Well poisoning 101 at work.Depopulation was the goal.
>>528190192i mean stuff like neuralink mostly exists as PR messaging and pseudo soft disclosure and distraction from the content of the actually occuring implementations of technology. Even then it is very different from what is being discussed in this thread. I mean honestly, space X also mostly exists to establish satellite surveillance and not to asteroid mine and put jeets on neptune. Its similarily all sorts of globohomo stuff and kikery and globalist population control.>>528191414yeah i reexamined what i said. I probably just got triggered by the boomer grammar in your (largely accurate) meme post.>>528191567new venue of experimentation. The closer you get to perceived cracking of fundamental human nature the closer you also get to perceived population control. First and foremost used to look what kind of ''transhuman'' tech is possible when used on an unsuspecting population and to see how much you can influence stuff like accute decisionmaking and furthermore what kind of things are possible that could resemble telepathy or extrasensory perception or could be mistaken for such by people who are attracted to that idea, and will therefore chose to worship the people implementing the system, or cooperate with them, in doing so, which failed of course, i would hope. But from the WEF types in these posts that was almost certainly the idea IMO. From a standpoint of game theory and population control its pretty ''interesting'' i would assume to those morons, the things that are being done and the way they are done. >>528191973also kill switches potentially yeah. maybe... idk... >>528192292and yet you're an intelligent being no? Hence the energy required doesn't really translate between the two systems.
>>528192320Read this:>>528185052
>>528188748He doesn’t believe anything he is saying. It’s a government paid well poisoner.
>It will be like bitcoin, goyim!the currency is actually called USDR and the fact this nigger don't know about it/ act like he doesn't know if absolutely fully discrediting himI never believed his false IQ claims but now I am sure
>>528192643>>528192660Well-poisoning or not does it really matter lets be honest non of you will do shit
>>528165101>Prof. Francis Boyle agreed to testify against Bill Gates and Albert BourlaWhich case? I can't find anything to back this claim except blog posts.>But just 20 days after agreeing to testify for the prosecution, he was found dead."Prosecution" implies a criminal case. There are no open cases against Gates and jewmini claims that Bourla is not under any criminal proceedings. The info on this is sparse so LLMs are admittedly of not of much help. This is interesting to me because the pharma companies involved with the vaxx should be under serious investigation for releasing that poison. But unfortunately it looks like the info in the OP is mostly sensationalized conspiracy slop.
>>528192130Henlo fren. Interesting reading & lots of references to chase. https://newprairiepress.org/cgi/viewcontent.cgi?params=/context/ebooks/article/1052/&path_info=08242023_CyberHumanSystemsSpaceTechnologiesandThreats_Nichols_BepressUpload.pdf
>>528193059I attended 4th funeral of vaxxie two weeks ago. What kind of shit am I supposed to do? I can only educate, show links, patents, videos and proofs of what's going on. What individual will do with this information- will he ignore it, not read like 90% here ITT or actually build a farday cage, build a wooden house innawoods, get a weapon, isolate from vaxxies and use only cash, --it's not my responsibility. It's people's choices. If you would read more carefully information i posted, you would know the shit is inside every injectable on the market right now. even saline. dentist lignocaine. anaesthetics. So yeah, people have a choice, especially the ones with small children. It's in every single one of childhood 'vaccines'. But should I do some special 'shit', according to you? One I will be taking my last breath, at least I will be able to tell to myself 'I did something to warn them'.
>>528193349I don’t inject myself with anything not my problem. And you can’t force people to wake up. You are wasting your time and they won’t listen to you, trust me I’ve tried and all i received was ridicule.
>>528193268>https://newprairiepress.org/cgi/viewcontent.cgi?params=/context/ebooks/article/1052/&path_info=08242023_CyberHumanSystemsSpaceTechnologiesandThreats_Nichols_BepressUpload.pdfthx for the link fren, I'm on it.reminds me of nano-domestic quell shit for some reason: https://archive.org/details/nano-domestic-quell-dossier/mode/1upI will probably get a ban for this, fuck it
4 of my family members have passed away from the vax, including most young people from my home village, the old people are only alive because they didn't believe the vax lies
>>528192596i said ''i would hope so'' but i mean to say i am quite certain.>>528190192you get my idea about this wrong. Most of the tech you are describing or maybe even thinking about is related to: Have thought map 1 to 1 to interpretable instructions of language, for example to control an rc car or something. But the system described doesnt operate on that level. Having somewhat moderately accurate descriptors of what someone is doing in real time and some sort of responsive structure inside a peroson to actively influence individual parameters, and then zeroeing in on individual groups of such responsive clusters inside a person is already enough to generate enough data and instructions to establish a big population control system, combined with more old tech and just location mapping. If the person doesnt realize it and focuses its attention on it, you can probably also focus in on actual instructions.What you are describing needs a different form of consistency attached to it rather than just: Zero in on this pattern of response over time. and play tit for tat with the rest of things inside a scheme and see how it develops. and occasionally add stimuli. Much attached to the attention of the individual, but this telecommunications system is not set up in this regard. That whole ''beaming thoughts into peoples brains'' tech has existed already since the 60ies. Now with having enough computation to have a virtual analogue to it being a reality with some sort of real time signal response and biological exposure (through the vaxx) to remote signals on top of it, that already is enough to implement all sorts of crap.You dont need much imagination to come up with this and see it being feasible
>>528193835this shi sounds like bullshit i dont know anyone who has died even tho they all vaxxed except my dad who had a stroke and is half paralyzed
>>528193699awoooooooo a lil' smart dust for the taste!
>>528165152>what's even the point if all my family took itAnd? Did they all die?
>>528166023Mandating an injection to prevent STDs is ridiculous. Forcing people to accept real risks, because mandatory testing/registration of std carriers would be against human rights or some shit.We could have already eradicated every single STD just by forced testing and public documentation so everyone can look someone up to tell if they're pozzed.
>>528169085This is what well poisoning looks like. Attaching obvious bullshit to legitimate concerns, so a secondary shill can go "hurr dur, 5g nanobot mind control, right?"
>>528193923>uncle 55, turbo lung cancer, dead 20.11.2024>my best fren, 2x pfizered, died 4th march last year. Before, he had giant blood clot thru his whole leg and they amputated his leg. >This same friend's mum, died one (!) month after her injections, she done them with him. Turbo breast cancer. he was devastated.>April last year - my grandma died. Old? about 70 yo, but healthy and without any chronic issues, it was suddenly, in the kitchen>2 weeks after her my aunt, she was 40 something, pfizered to the maxx, just suddenly, not even cause of death stated>28 yo random guy at the lake last year - heart attack>2 weeks ago, my dearest beloved second grandma. Can't even talk about it yet. >Friend aged 37, woman, stage 3 ovarian cancer, she knows it's the vax and is furiousYou may be lucky with batch numbers. For pfizer the ones starting with 'E' were the worst. E means EXTREME risk.
>>528193699
>>528194294Rip
>>528165101Some autists really need to figure out how this guy died. His family has gone underground
>>528186050Moderna obtained the vaccine first (yet in pocket when needed,how lucky is is huh ? moderna Ceo is jesuit; js
>>528193923i know some people who had strokes despite only being in their early 50ies from the vaxx as well as the coof or other poisons, when it wasnt the vaxx alone, in all likelihood. also people age like shit, and some possible exhibit symptoms of early onset dementia. If you dont aknowledge anythign really obvious in relation to the cv19 hoax stuff then its pretty hard to actually go to the core of the problem.>>528193856also ''verbal'' mindreading probably already exists an example of something like this would be via scanning verbal chords in real time. and analyzing its frequency modulation when someone is ''thinking loudly'' >>528193856also something like this aids the depopulation pattern by creating an additional antagonism that keeps the noticing part of the population also occupied.
>>528194962>Moderna obtained the vaccine first
>>528195070sorry, i formulated that haphazardly. i meant to say that they had several adversal events related to either vaxx or coof. strokes i only knew in people who i would assume to be vaxxies... but might be wrong idk.
>>528195070>not even one anon posting Sabrina Wallaceit's over https://www.youtube.com/watch?v=N3oG-WCU_SA
>>528165101https://youtu.be/0EdnzwAturc?
>>528192333>mRNA are american bioweapons but every other country around the world also used them without ever checking what was inside the vaccine.Sweet summer child. They knew EXACTLY what they were doing.
>>528195070frequency modulation is wrongly formuated. It would be frequency modulation in a talking individual through stretching and relaxation of verbal chords, which of course leads to frequency amplitude and so on modulation. but you get the idea.
>>528190791Anyone that ever actually pays attention to UN transcripts and WEF meetings could easily find out we are no longer booming economies and the Elite have changed course and are directing us all on a managed decline standard of living due to high population and limited resources.So you are 100% correct they are going to try speed running the pop drop instead of waiting a few more generations.
https://www.sgtreport.com/2024/05/cia-involved-in-manufacturing-of-covid-vaccines-bombshell-report/
>>528195257i dont really need additional sources of information. For me the whole thing is pretty apparent, and much of the distributed information often can sometimes seem like well poisoning or ridicule. Ill look into it tho, as well as the patents you posted, maybe at some point, after mulling over wether or not you are a trustable source.
>>528195737Again like i said before watch Utopia whole plan is laid out there. Its free to watch on jewtube.
>>528165879>hand wringing intensifies.
>>528195767or rather wether i trust you and the angle you are giving on the discussed topic
>>528167643This anon is not suicidal.
>>528196168I already showed my angle on the topic. It's both, mass depopulation event, and the hook for control for the reminders [survivors]. I am not dismissing real possibilities [like this kike], because they are clear. hence different batches too. just scan vaxxies BLE Mac Address and put it into MAC Vendor search engine. If there's no vendor - the signal comes from vaxxed body. tech/ Companies are legally obligated to register the vendor.
>>528192333How new are you?
>>528165152Don’t worry there were literal homosexuals on zoom calls talking about “delivering vaccines to people unwittingly via fruits and vegetables “Meanwhile Bill Gates owns tons of farmland and is vaxxing livestock.
>>528196492I agree on the premise of vaxx being both depopulation and technological control scheme. just so you dont get me wrong.good day to you
>>528176515My employer made it mandatory to get the covid vaccine. I put in a religious exemption and if they hadn’t excepted that i would have worked until fired because i would rather be homeless than take that shit. Its good to have principles i guess
>>528197414
>>528165259Same. Richfags were the most zealous with pushing the vaxx because their GEEDEEPEE came first and they believed the government would give them freedom if all the cattle took the shots quickly.
>>528165101damn same story about the CEO luigi shotwas supposed to testify about something
>>528196698you too anon, have a good onecheers
>>528165352>you won't do shitThe gayest meme to ever exist. It's meant to smear anyone doing anything other than literal domestic terrorism. It can also be applied to anyone talking about being dissatisfied with any politician, policy, or social phenomena whatsoever. Just don't talk about anything and shut up, or go commit multiple life sentence felonies. Ledditor logic>>528179799I went to the trucker convoy, which made the government start conceding mandates and made Trudeau hide like a bitch deep innawoods
>>528196492>If there's no vendor - the signal comes from vaxxed body. tech/ Companies are legally obligated to register the vendor.This is not 100% accurate, a vaxxoid might produce a vendor ID. In fact a lot of times they are apple or google IDs. A more reliable test is to see if it advertises as connectable but then doesn't connect, that is a definite protocol violation. And an even more reliable test is to use the RSSI as a strength and distance meter to triangulate the location of the injection. However that's obviously not a good idea with vaxxoids that are hostile to the concept.
>>528198685you are correct anon, once you try to connect with them it's impossible. it said (timed out) if i remember good? I also saw the apple onesi think this webm is yours even
>>528198685
>>528199733That image is just one data point. If you profile more data you'll find the vendor ID isn't always reliable. The honkfm phone scanner is also a little glitchy in terms of what the BLE spec actually says. NRF Connect is a better way to get the raw data
>>528200337can you advice me for good scanner app for apple? old iphone 7. they patched almost everything and I lost a lot of things along with my raspberry pi. honkfm is also only available for android if I remember correctly. the constant patches are making me fucking insane with these kikes
>>528200479>for appleFor fucking iOS 8 beers in already my bad
>>528188105My phones can't pick up much in the way of signals anymore, not like it used to. I suspect a patch for sure.
>>528198550my brain wont be taken lmao
>>528200852they are patchmaxxing since early 2022. They never expected the goyim will notice this. I remember my 3,7-day bans every time I even posted about charles lieber in 2022.at the beginning, you could see instead of mac address, something like [[Chad0x astrazeneca 0937464 code] , something like this, it disappeared quickly and turned into naked MAC addresses, now even macs are harder to detect [still possible]
>>528167643What the other anons said. I repeat.
My coworker who said she felt the vax take control of her mind, died a while back. I finally found out what killed her and it was an aneurysm, her husband had died some 7 months previous from a heart attack.
>>528201504I remember you, anon, we talked when she was still alivedid she said any details about this 'control'?
>>528201721She didn't have much to say about it, and we talked in hushed tones at work because management were shit stains about it. But I thought that was a very strange thing to say. I appreciate how much effort you put into your posting. I don't always comment but I am always trying to save new info. My folder is pretty organized now. Almost 2600 files on the topic.
>>528202100checked and cheers. I observed this 'xD' nigger for a while and I know he's here to direct the discussion in particular way, so I needed to get out of a lurking mode too. look how he bolted out from thread. never trust glowies. all the best bro.
>>528168151Same here, it's family tradition to be contrarian so it was not possible to take the vaxx or be shamed by my family.But I didn't really feel like getting it anyway and fuck my ex-boss for making such a big deal about it.
for every newfag lurking here, save the pdfs, patents, links, videos, webms. save it. also, the redpill journey starts here: https://odysee.com/@BarnabasNagy:5/2023-12-23-bluetruth:d
>>528167643thanks boss, godspeed
I do believe global overpopulation is the greatest threat to the long term survival of our species so it would make sense "they" would be addressing this issue in a controlled and selective manner. It's grim but has to be done, one way or another sadly.
>>528191567fuck, I forgot to mention the blue beanz voice to skull preparation... silly me hahahnow ban me, janny tranny
>>528203410go first, ranjeetcome on, come on, faster, it's just a juggernaut, +1 izzat for you bitch
anons, frens. it was a pleasure. May God protect you and your families. Always do your own research and very carefully examinate everything I posted. Everything. Look up more of Sabrina Wallace too, she said what she shouldn't and now is in hiding. Read very carefully and never let jewish motherfuckers tell is it's either 'one way or another'. It's two-directional midwit technique they are using in politics [red/blue, conservative/progressive] etc. it's absolutely midwit take. the color Gray exist, same as red, not only black and white. These horrors are called 'beyond human comprehention' for a reason. they are sitting on tech which would blow your fucking balls. for 60+ years, they have many, many secret fucking thigs yoou have no idea about.Stop using motherfucking electric rabbi jEWGPT. Don't give them ammo on you.this ((((((((shit))))))))) will be activated.2027No i am not suicidal.starlink is not for internetGod Bless
>>528203556Why so hostile ? I take it you have a difference of opinion. I don't agree with what they are doing, because it will be a dictatorship but I do believe we need to reduce the population globally or there will be no habitat for wild animals and we will turn the oceans into a desert after we eat every last fish. The US is destroying their topsoil and depleting the ground water very quickly, globally we are on a tipping point, I don't appreciate you resorting to name calling and personal attacks, I expected better from you.
but /pol gonna be /pol, kek
>>528200479Apple phones internally block reliable reporting of raw BLE data so there is no app that will work 100%. nrf connect is probably the best on android as far as just reporting the data bytes without a lot of extra work. The best is to use an esp32 based chip where you can get the true data coming over the air. I have written something that does this, similar to what you see in the images. AI makes this much easier. I kind of stopped working on that project when I realized you can detect a vaxxie just by looking to see if the vaxxie says it can connect but then does not. It's not a beacon, it's a human. chatgpt or pretty much any modern AI can write an esp32 script that will print out the raw data streams. If you want I can look into figuring out what that prompt would be, but I will not bother if no one else is going to use it
>>528202969>https://odysee.com/@BarnabasNagy:5/2023-12-23-bluetruth:d+1000
>>528165101I'm setting my stopwatch for 2 weeks
>>528203922don't expect friendship from me when you are cheering on a mass murder.