I love McDonalds™ !
xbox users btfo
>they don't know xbox controllers have assymetrical sticksso who's this for exactly?
>>736411918>"mcdonalds! \O/"
>>736412075I understood that reference!
For me, it's the McChicken. The best fast food sandwich. I even ask for extra McChicken sauce packets and the staff is so friendly and more than willing to oblige.One time I asked for McChicken sauce packets and they gave me three. I said, "Wow, three for free!" and the nice friendly McDonald's worker laughed and said, "I'm going to call you 3-for-free!".Now the staff greets me with "hey it's 3-for-free!" and ALWAYS give me three packets. It's such a fun and cool atmosphere at my local McDonald's restaurant, I go there at least 3 times a week for lunch and a large iced coffee with milk instead of cream, 1-2 times for breakfast on the weekend, and maybe once for dinner when I'm in a rush but want a great meal that is affordable, fast, and can match my daily nutritional needs.I even dip my fries in McChicken sauce, it's delicious! What a great restaurant.
>>736412119It's fucking nuts that this is patented.
>every single other fastfood chain explodes>macdonalds keep doing the same shit since they were created and is now considered one of the best fastfoodhow did the clown do it?
Burger King unironically has better burgers than McDonalds.McDonalds beats it in every thing else doe
I don't eat fast food goyslop.
>>736412139I love that he wasn't even mandated to get up and cheer. He's just lovin' it that much.
>>736412263>people arguing with a bot and trying to use it as a real "source" for anythingI don't understand why people actually engage with this garbage beyond just for generating stupid images
>>736412139>It's fucking nuts that this is patented.maybe they patented it so nobody can ever do that, surely... right??
>>736412119Jokes on them, I want to watch mcdonalds commercials all day on my TV.
>>736412128My favorite take on this is the Barry Lyndon take
>>736412158I don't understand how Burger King and Subway are still around. Every time I see one it baffles me. McDonalds, as much as I don't like them, at least have a strong reputation of being an iconic fast food place. I don't see them ever fully going away.
>>736412271The food you DO eat has most of the same chemical slop, so you really aren't any better off.
Americans look at controllers and think of food
>>736412482i look at food and think of controllers
>>736412429Whenever I see McDonald's there's a line at the drive-thru, Burger King is always empty and there's no one dining inside. It is actually nice to dine in, me and my best buddy ate it a lot growing up so sometimes we'll indulge after a long day of working on shit. Our go to is In-n-Out, but need a little variety in burgers and the nostalgia does it for us
>>736412158The secret is consistencyWhether your product is mediocre or not doesn't matter people just want something familiar and comfortableA 60 year old needs to be able to eat the same big mac they had when they were 5
>>736412429>I don't understand how Burger King and Subway are still around.Subway is the only place where I can get teriyaki chicken with cheddar, purple onions, pickles, sweet muztard and sweet onions sauce
>>736412765You ever consider just making that shit at home, you fat fuck?
>>736411918I love Fast Food The Price Of A Week's Groceries™!
>>736412210Wendy's is better than both, but they're fucking expensive. As in, you're better off going to a classy restaurant than ordering this slop expensive.
>>736411918*places controller upside down resting on the tilted thumbsticks*You definitely need a piece of plastic for this btw
>>736412437Peak cope. You're just fat.
>>736412482>>736412587imagine being at computers
>>736412437>everyone lives in america
>>736412437not him bit no, and its sad you think that way.
>>736411918
>>736412158This is the most blatant shilling I've ever seenKILL YOURSELF, MARKETER
>>736413709America is hardly the fattest country in the world. Europe is pretty much right behind it now, plus even China is going through an obesity crisis that is set to make the US look alright by comparison.
A&W is the best option for quick burgers unless you want a baconatorLeaf btw
>>736413902Stupidest comment ever made on the internet. I've been to Florida. I've never seen people so fat. You dont meassure sizes in small, medium or large. You meassure in elephant, elephant x2, elephant x3, elephant x4.
>>736411918Holy shit this is the most american thing I've ever seen. Why are they like this? Can't they just pause the game for a few seconds to eat a few fries? Or better yet, eat food at a different time when they're not playing videos games. This shit is some hardcore american goyslop pro globohomo dystopian nightmare fuelAlso I'm so tired of large corporations being involved in video games in anyway. These people never cease to show the world how retarded a clueless they are about video games. I miss the time when video games were a niche hobby. Large companies have destroyed this industry and turned it into the wasteland that it is now.
>>736411918'MURRICA!FUCK YEAH!
>>736411918Americans are disgusting pigs
>>736413303My favorite dine-in beaner restaurant costs about the same as an equivalent sized meal from any of these shitty fast food chains, maybe even lessExcept instead of a depressing lukewarm burger and stale fries I get marinated skirt steak, sautéed mushrooms and guacamoleFast food has completely lost the plotFast food has completely lost the plot
>>736412128Nobody asked ameripig
>>736412128>>736411918I hate americans so much it's unreal
>>736411918I don't play movie games where all you do is walk around, I also dont want to smear fastfood slop grease on my controller. Nam myoho renge kyo, nam myoho renge kyo...
>>736412437how the fuck do you know the food i DO eat
>>736412128Wow, I've never seen such an honest man before!
>>736415121He eats unhealthy garbage, that means everyone else does too.
>>736412437Death to america and their goys
>>736415456not that guy but why do you assume mcdonals meat and ketchup is magically worse that stuff you buy at a store?given their volume it's actually more likely they can buy fresher products than you since they know how fast they get used up and don't need it to last as long (less need for preservents)
>>736412429Both are better than McDonald's. I dont get fast food much but when I do its just burger king. Im a big take out man now though since fast good has gotten so expensive. I'd rather just spend $12-20 for some real good food instead of $16-23 for a fucking fast food burger meal.
>>736415563McDonald's burgers dont rot though. You can just keep it in your pantry forever and have a nice snack always ready
>>736412210>>736412429>>736412673BK is almost gourmet tier in Europe, funny how it's basically gutter trash in America - the food itself, the restaurants, and the clientele. I made a mistake of going to one once since moving this side of the pond, and I might as well have been going for a stroll and a picnic at Skid Row.
America is a fucking embarrassment
>>736415563Because it is? And if by storebought, do you mean instant meals, frozen and such or actual homecooked food made from groceries?
>>736413902>Europe is pretty much right behind it nowhahahahamuricans are so FAT, they are matching tribesmen who literally cannot process most foods
>>736412325Yes, sony actually did. This unironically causes destruction for every other company that is not allowed to do it.
>>736412928>Have to find giant bread>Cut up and prepare eleven types of veggies and meat>Get the sauces tooIt's kinda expensive but their offer is pretty good
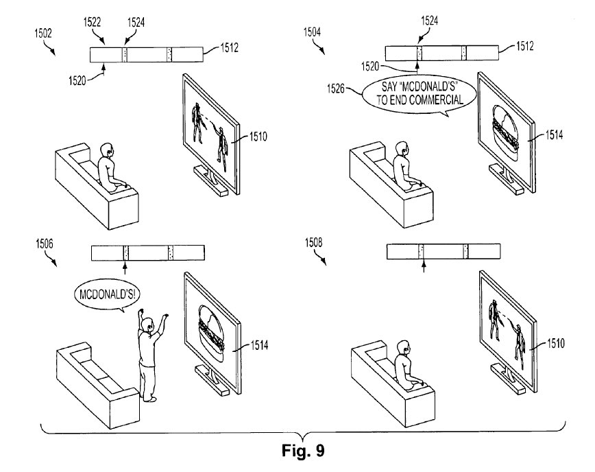
>>736411918Seems to be a thing for the Turkey branch so I doubt we'll get it in the US.https://www.prnewswire.com/news-releases/mcdonalds-turkiye-introduces-archie-for-gamers-302733615.html
>>736418307>non-US anon see something, immediately assume it's America when it's demonstrably notMany such cases.
>>736412210This but Burger King fries are also way better
>>736412429My Subway got bought out by Vietnamese (Indians maybe? I can’t really tell) and nobody likes to go there anymore everyone goes to Firehouse now
>>736418496Amerimutt
>>736411918Nope. Truly a q-tip and a rubberband can do the same thing.
>>736412158Mcdicks kept losing shitton of money when they tried to ditch the average customer and charge le premium for their meme burgers. They only recovered by adding value meals back. Turns out the customer base wasn't as loyal as the clown thought.
>>736412119https://youtu.be/SDPy2euUFbM
>>736418948>Mcdicks kept losing shitton of money when they tried to ditch the average customer and charge le premium for their meme burgers.Really what happened is that when they first raised prices profits went up since a lot of people buy their McSlop out of habit without checking prices. Then people started to realize "woah what the fuck why shit so expensive" and THEN McDonald's profits started going down.
>>736412158are you serious? it's over priced dog shit