>buy console game>it's singleplayer>can't play it unless your machine connects to the internet every 30 daysWhy are they like this? And by "they", I mean consolefags who tolerate this shit?
Snoys aren't human.
>>737847705consolefags being tasteless consoomers is the original sin of gamingeverything wrong in gaming is because of consolefags
>>737847705Their fault for buying digital on a fucking console
>>737847705>I mean consolefags who tolerate this shit?Steam fags tolerated it for 20 years
>>737847705>consolefags who tolerate this shit?you say that like anyone has a choice in the matter
>>737848153Steam doesn't make you connect to the internet to play single player games.
Remember when Xbox tried this and Sony fucking dunked on them until they walked it back? 12 years is a long time
>>737847705> only has one game> wait 30 days> lose game> now has no gamesBravo Sony
>>737847705Isn't this what killed the Xbone?
>>737847705Al Bundy replaces the main character of the last game you played. how would it go?
>>737848765That was around being able to sell/gift your games to someone else. Xbox didn't properly articulate to people that they had a Family Share type plan, and they lost control of the narrative, which Sony capitalized on.
>>737847705And yet you're connected to the internet right now.
>>737849242>the water isn't that hot yet why are you complaining?shalom
>>737849191Naww NIGGER don't try and rewrite history. A nigga got fired for making fun of people complaining about shitty internet making it so their console wouldn't play games. >But they would allow a share programThey can say what ever they want after it failed. Fuck them.>Don't forget, it came with a Kinnect that had creepy biometric readings that had to be part of the console.... until it didn't.>They wanted it to call home ever 72 hours as a compromise.... the original plan way CONSTANT STREAM OF SURVEILLANCE!>NO MORE DISCS AND YOU CAN ONLY BUT FROM THE XBOX LIVE STORE.... until that didnt do well and Playstation literally mocked them for being retarded with sharing games (what you are referring too)>Don't forget the creepy pattents for DRM FACIAL RECOGNITION AND WATCHING MOVIES ON A CONSOLE.So yeah NIGGER, this shit killed Xbox.Sure, Sony and Nintendo are doing a more lenient version of it, but what's stopping them from pushing further.You are Trapped in their ecosystem.Oh and God forbid they stop working maintenancing their servers. Don't worry, you can just REBUY ALL YOUR GAMES!
>>737849978It's split between Don's interview and the Sony "How To Share Games" video.
>>737849431Is it all being shut down?
>>737847705
>>737847705>I mean consolefags who tolerate this shit?it's only snoys as usual, but they're busy bitching about Nintendo
>>737848106Fuckin this. Atleast have the dignity to not pay for downloads.
>>737848206It does or least it did
>>737847705they? they/them?
i still don't understand why consolefags took paying a subscription fee for being able to play online without any pushback>pay monthly for internet>pay extra monthly so you can use your internet that you pay monthly for
>>737850808Cause we dont want to play with thirdies, same reason a swimming pool with a fee is better than a free swimming pool open to anyone
>>737850094This is why I am having trust issues with consoles.>Xbox used to be incredible. Xbox and 360 were God teir consoles. Unfortunately when Microsoft saw the dollarsigns they didn't calculate how vindictive gamers are when you burn them.>Playstation only had minor misteps. Vita only failed cause of the overpriced memory cards. PS3 struggled at first cause they were selling a $600 beast that was backwards compatible and total media play back machine. Why is Sony fucking up now? Well because the new leadership are retards. They literally hired their head of game acquisition who has greenlit and made EVERY Playstation classic because he said no to greenlighting more live service slop.>Nintendo was a holdout. I would even forgive the over zealous protection on switch 2 if it wasn't for the Game key card scam shit. They needed to push game ownership hard as a foundation of consoles, and they blew it on all counts.The thing about PC is steam always had issues, but if the game doesn't have DRM and I download it steam doesn't cock block me from playing it.GOG has been great for niche older titles I live that are hard to find.My Roms are mine. My emulators are mine. Even if they try Pulling some bullshit in the future there is a good chance I can work around it and get my games.Man, all consoles had to do was sell themselves on physical ownership and they had an easy win
>>737847705>it's christmas again>the family is all gathering at grand-dad's ski cabin in the mountains>"the kids are getting rowdy, let's put them in front of the tv to play a game">"daaaadd, it says we need internet"
>>737852681Meant to say Sony fired Shuehei Yoshida, not hired. Stupid phone post https://m.youtube.com/watch?v=TvyzCo6tXKI
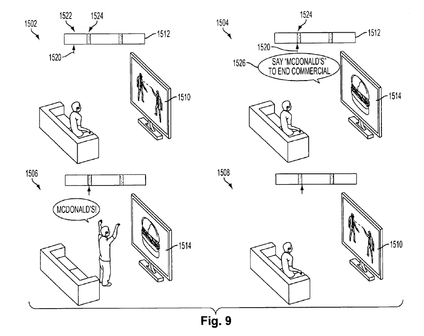
>>737847705Wait until pic related becomes Playstation reality.
>>737852908Remember when Sony CDs put a rootkit on your computer if you put their Music CDs on your computer to listen to it it fucked your computer, than their "we soooo sowwy" move was to install a removal kit that was just a 2nd rootkit?