Prev >>221110282Oblivion edition
CAM ON MAMMOTH
GOD DAMMIT MAMMOTH
>>221111968What's wrong with pockets? Who made this shit?
>>221112018ask women
Have you ever kissed a girl so hard she died?Love can be a deadly weapon
Need a brown midget gf
>>221112008Pls win in overtime I don’t like Vegas
>>221112066fuck vegas all my niggas hate vegas
I want to touch a girl as slim as Gracie Abrams, hold her in a deep embrace (naked).
>>221112074Vegas niggas be like don’t forget to tip 10% of your winnings to your dealer (in the rare event that you actually come out on top)
its are year boysdon't beat the odds play the odds
>>221112105Only the Nostalgia Critic remembers it so we don’t have to. This woman is a fraud.
Wasted 10€ on the lottery againCOULD have become a millionaire doe
>tfw interviewing for a job and it feels like the employer is trying to get the pool of candidates to play Hunger Games with each other
I actually like chicanos they pretty chill
my penis can penetrate better when she doesn't have a big ass
>>221112181how do I get my cat to make that face next to a banana ?
After all we're all just Jews at the mall
i was making dinner and i heard some thumping on the wall, like someone was hitting with it a hammer or something and it was a inner wall that goes to the living room, i cant explain it
>>221112230you don't care that my employer is trying to pit me against the other plebs
>>221112181you gotta sperm your way into the nepotism egg
>>221112240no, not really. make sure your performance is entertaining
>>221112181corr haven't seen that kittingtonshire in like years
>>221112233Sorry I was doing your mom in the next room
>>221112242in a true meritocracy, the eggs come to the sperm
Computer, make this thread super gay and horny
Sex is so fucking overrated, holy shit
Computah make this thread supa gay and HORNY.
There's a German spamming trans porn on /pol/ again.
>>221112341Thanks for the update
Let’s get to bashin’ butts, as well as DEEZ nuts.
it's penjamin o cock somewhere
Just ate out a hookup.What are my chances of contracting something?
>>22111236050%. Either you will or you won’t.
>>221112373By that logic it's either 100% or 0%
drinking milk
posted it again
she toch my poienguooes
>>221112360Wash your face and get some listerine and you should be ok
>>221112395https://www.youtube.com/watch?v=aqBw3H_Ik3s
>>221112268phwoar good post diss wunhairfta be ongbongulated
>>221112341it is the history of the deutschland>>221112360hope you insemjnated her mouf and/or face
>>221112307yeah it's just worth it if it's with someone like this girl
>106 GB of 456 GB free
>>221112452Washing your face doesn't make a difference since these things transmit through the mucus membranes in your mouth
this homeless girl at waffle house asked me to take her home with me but it smelled like a trap.
>>221112549>Washing your face doesn't make a differenceIt does for HPV which is the STD most people contract from eating out too much
>>221112558bitches do be goin to ur crib n stealin ur moisterizers an shieet
>>221112558That would have been a very bad idea
Being a jobless virgin who lives with his parents was kinda quirky at 23 but at 29 it's starting to feel like a significant detriment
Okay guys I liedShe wasn't a hookupShe was an escort
>>221112600My mom would kick me to the curb if I lived with her with no job and no prospects past the age of 22
>>221112600Who tf cares, you're a cool wizard like jason now
>>221112558>5 gatling guns>5 shogitai regiments to protect against cavalry spam>3000 peasants armed with wooden stakes charging against you
eating several hrad-boiled eggs in front of my mom LOL
>>221112602>She was an escortCongrats on the PAWG nigga
>>221112595what could possibly go wrong
>>221112626This one was kind of a pawg but her massive tits were the main reason I booked her.It was super not worth it though. I'm done with escorts. I had way more fun cuddling with her and chatting than the sex
>>221112600
>>221112647>It was super not worth it thoughThis is probably the reason I've never done it myself. People tend to think of "hoeflation" as a socio-economic thing but it is a literal one too. It's highway robbery for a decent whore and only going up as more men get more desperate.It took me all semester to figure it out but I've got 3 girls lined up for Summer from college. If any one of them works out I'll be happy.
tfw no wafflehouse on the west coast
I will always be an incel, how does that make me feel?
>>221112807Not a big deal, see >>221112307
>>221112807im an incel and volcel
>>221112800https://youtube.com/watch?v=uvV84TD3osI&
>>221112800you have in-and-out and cumdumpsters
>visibly graying hairhaha its so fucking over
>>221112833>cumdumpsters?
>>221112839you've never been to cumdumpsters out west?
>>221112833this is true but fights dont break out at in n out and they dont have southern style brekky>>221112839yo mama
fucking mammoth god dammit
I don't have a cum dumpster, I have a cum bin
Fudruckers?
>>221112865
>>221112861Bummer
>>221112847>she deflected the chair, roared like a beast, and charged the offender
>>221112893waffle house wendy did nothing wrong
>>221112865I loved that place as a kid but really for the food. They had a good hotdog. It was served in an extra wide slide of bread with a cut down the middle instead of a hotdog bun. Toasted. Buttery like grilled cheese. Very tasty. Anyway the primary appeal with the arcade next door, owned by the same place, called Ruckers. That was peak street fighter 2, king of fighters, mortal kombat era.
If these edibles don’t kick in soon I’m gonna puke my pants
canadian niggas be like"this THC too spicy"
Legalize it.
>>221112972none of the things anti-weed legalization people warned about came true. they were concerned about the following:-increased use by minors-impaired driving-people high in public everywhere-weed smell everywhereFirst three remained exactly the same as when it was illegal. Very low incidence of weed impaired driving. Zero measurable increase in minor use. What did change: there is now a weed shop in every strip mall alongside your dentist office, pizza place, chinese restaurant, cell phone repair, barber shop and convenience store. There is more weed smell around bars/concert venues than before. The people high in public are all fent zombies doing their fent poses.
just had mcdonalds like a chud
We should all get black girlfriends
>>221113051chud would call it slop, thoughever
>>221113057how about no
>>221113057>get black girlfriendAlready on it glowberg
lol commies in panic https://www.youtube.com/watch?v=Si77qDl4Kck
>>221113078black girls don't look like this tho :/
>>221113057how black are we talking
>>221112865Welcome to Chudruckers, here's your nothing burger with a side of lies
Are any of these Chinese handhelds worth buying? I want one I can't fit in my pocket easily. >https://retrocatalog.com/
>>221113110All shades
black girls are cute
>>221111968Lol
If I die in a funny manner my family and friends have my permission to joke about it
>he didnt hold onto his DS/GBC/GBA from when he was a kid
I don't give a fuck. I'm wearing my cargo shorts this summer
I have two serious opportunities with Black women at polar opposite ends of the aesthetic spectrum.One of them is a tall Ethiopian with dark Black skin and strong African features, and a voluptuous physique (not fat at all, just her build). However, she's awkward and a bit nerdy; she wears glasses and has a bubbly, girly voice (no accent African nor Black given she was born and raised here in a wealthy, mostly White, Mexican, and Asian area). She's a freshman but also shares my major and wants to go to the same grad school.The other is a very light skin mulatto, probably 1/3 or 1/4 Black with peach skin. She's cute, short, and slender, with a deeper, more womanly voice that's surprisingly seductive. She's an Anthro major but is in my same year and close to my age.
I like the 21 mini game in RE7
Hola retardos
>>221113398Pendejo.
blimey mya diamondwun of ugliest pornstars of all timbut banging bodgreat performerblast from the pastwhat a life we live in
>>221113398
Im in my sleepy arcIm bedpilledI'm REMmaxxing
Listening to ASMR and playing with my nipples
>>221113431are you a girl
>>221113429zoomer language defo worst in history closely followed by millenials
>>221113445No nigga
>>221113472why not. can you pretend to be one
>>221113491Can you suck my balls
where you bound /cum/?https://www.youtube.com/watch?v=PrFZYbdqIZY
I'm bound 2 falling in love
>>221113531based
Boundin' was a great animated short
Any good posts?
>>221113560>>221113515
>>221113560Mine
>>221113549I liked the short with day and night
goodnight
>>221113410DickfaceI miss the jungle already, I'm getting starlink and a quad for the house, out there I don't need plates.
>>221113591That's probably my favorite Disney short. As a Celt I've also always thought Brave was very underratedand wished Disney did more original European stories.
>>221113654More of an arborial man myself
>>221113654do you look like that?
Give an Indian a fish and he rapes it.Teach an Indian to fish and he'll find a way to kill himself.
lmao
Stopped talking to this crazy bitch on discord and she still seethes about me nearly a year later, do they ever get over it?
>>221113978>do they ever get over itThe highest insult and deepest trauma women feel is rejection. It destroys them far more than any man.
Making ice cream ina baggie just like ye olden days
>>221113978women can't handle rejectionin their mind, they're the only ones that should be allowed to reject someone
pretty sure I just saw an old hispanic lady on fent working at burger king>go to burger king to pick up an order>sit at the mic for like 5 minutes asking if anybody is there>drive around>old hispanic woman there looks out of it>keep watching her>she notices me maybe after 2 minutes of staring at her>she just stands there and stares at me>completely out of itwrote a review and detailed the entire experience and also reported it to uber who said they would contact management. Hopefully she gets fired but I doubt it because I've only ever seen hispanic people working at burger king
>>221114018Forgot to mention that it’s a biological man bro I’m fucked. I didn’t even fight with her, just stopped talking and that nigga lost her marbles…
>>221114031this is why I stopped going to mcdonald'sI just looked at the employees working in the back and I never returned
Yeah but what about squeeda squdna?
Where are all these crazy people getting fent from?
>>221114042>tranny is insanewater is wet
>>221114076Drug dealers.. same way they get weed and mushrooms and any other drug. Have you never had any connections in your life?
>>221113044I buy my weed from the black market. The gov't tried to undercut the black market and the black market turned right around and undercut the gov't; so now I buy from a website.
>>221113044>-impaired driving>remained exactly the same???no, but also I personally blame on there being more foreigners more than drugs but still it consistently gets worse and worse as time goes on
Got some dill pickle flavoured corn puffs
>>221114079Yea
>>221114085How the hell are you guys finding dealers?
>>221114059>>221114031see this is an issue if you live in one of the few White areas of the country because they hire White kids and even if they're stoned out of their mind they still make your goyslop well
>>221114153Do you genuinely not have IRL friends? I've been offered drugs by complete strangers tons of times... Hell, even while doordashing I've been offered free drugs as a tip
Post bedtime routine-use bathroom-wash hands & face-brush teeth-put on small amount of deodorant-get glass of water-say Jesus Prayer x3-get snuggly-play on phone ~1hr-sleep
>>221114175You don't read before bed?
>>221114165>>221114031I'm in New Hampshire you retard lolI have never in my life seen a white person working at burger king or wing stop
>>221114166Damn I didn’t know that was a thing
>take off clothes>use bathroom>brush teeth>get a drink of water>set alarm>sleepnothing fancy
Eating ice cream at 4 am award
Nothing good happens at these hours of the night
>>221114221Yeah, its because we're stuck with the namefag at these hours
Nothing ever happens
Nothing good has happened yet
Something good will happen soon
*shits*
I just remembered Axel in Harlem
society is collapsing
What are your favorite Axel edits, picrel is probably mine (I also remember an animated version of this)
>>221114188skill issue, try not being a retard and you won't have that problem
>>221114328The twitter screenshot of the african ambassadors still makes me laugh my ass off
Washed and cut up another potato and put it in the air fryer
>>221114381The fuck you did.
>>221114393I did niggerand I'm also toasting some hot dog bugs and frying up some hot dogs then im going to take the slices of potato out of the air fryer and fry them in a pan with some butter and salt to get them a little crunchy THEN im going to dip them in sour creamfucking BITCH
>>221114420You vill eat ze hot dog bugs
society isn't collapsing, but i wish it was
i live in an area thats white enough to where seeing a brown person is unusual enough to stand out. the slop chains are all white kids. however zoomers are retards and theres about a 50% chance they fuck at least one thing up in your order. they take their sweet ass time nuking your slop too. not sure why poltards feel the need to pretend that white people are perfect at everything, there are plenty of white fuckheads and losers in the world. its lying kike behavior desu.
I think chuds don’t go outside to know what the actual racial demographics of their areas are
>chuds don’t go outside to know what the actual racial demographics of their areas areI live in a minority White city that's mostly Mexican and it sure feels minority White and mostly Mexican
>>221114546Unrelated to whatever you're saying I think you should jump in front of a train
>>221114614>I think you should jump in front of a trainI'm White not Indian
>>221114620You aren’t white though
let's say I go out and get a slampig gf tmrw to fuck tonight. that means I have to take care of her the day after, and the day after that, and the day after that.....but I get to fuck her whenever I want, however way I want,
>>221112533Brownoid detected
https://youtu.be/ksn5yrsC3WgDoes God hate gay people and needle users?
Voco percussion on a whole notha level coming from my mine
I believe in the sun
>>221114936Soli Deo gloria
>>221114936https://youtu.be/iFca32_7YUU
I WANNA KNOW WHAT LOVE IS
Yesterday in the shower I remembered a valuable lesson that I knew a long time ago but forgot somewhere along the line.If you're going to be generous or helpful, do so selfishly. Do it for yourself because you believe it's right or because it makes you feel good and never expect anything in return. If you can't do that then don't do anything at all.Thanks for reading
Is there an haiti general?
>>221115209
https://www.youtube.com/watch?v=ctPuCMczJIw
>>221115220Bro you live like that?
Just squeezed my lemon.
Awake at ungodly hours
>>221115457I want to touch her naked body from head to toe and eat her pussy!!!!!!!
>>221115457does this angel still have her wings?
>>221115481>>221115650It's just some fuckin broad
>>221115732She's the greatest pop star of our generation
>>221115823Which is incredibly sad because she has 0 bops or bangers
I've worked 32 hours in the span of 3 days
woman.
Happy Walpurgisnacht, /cum/mies.
>>221116128Valborg is the day of the year we gather round a large fire and watch it burn
>>221116173Very based! Skal my friend!
>>221116173Wow it's just like Midsommar
>>221116213Did you know skål means bowl? Because we often drank out of bowls. And then you say "bowl" and everyone raises their bowls and drinks out of their bowls.
do white people make rnb? im tired of modern day rnb, the last white rnb song i know is that bobby caldwell song
>>221115457Non white booba in my mouth
>>221116907rnb is just pop music for blackyboos
>>221112028Women then bitch about tiny/sewn-on pockets in their clothes as if it weren't their autistic demands
I have awoken
>>221116976stop listening to women
ah fuck hes awake
>>221117115tell women to stop speaking everor stop worshiping their feelings over human lives and liberties
Computer make these guys super straight and celibate
>>221116173so many phone screens :)
in my room there are no women to hear speak i fucking mute 3d visual media if a female starts to make noises
>>221117322same but i think its just cause i dont like high pitched voices more than anything
>>221117375some bitches have deep voices those too get muted
What should I do at work? I have huge amounts of down timeI've been pacing, doing deadhangs from the overhead crane, and singing loudly
>>221114647Not how it worksOnce a woman feels like you've settled for her and she doesn't need to do anything to keep your attention getting her to fuck you becomes a mind gameThis is why you should keep lightly flirting with other women even if you're in a ltr/married especially with women younger than her so she always feels slightly threatened and unsure about her status don't overdo it tho'
>>221117583you need something mentally stimulating as well. pick up a math book, or do some puzzles
Morning /cum/ is grim
>>221117714It is fucked. Nobody cares if you are on your phone but they don't like it if you read a bookI wish I could bring my laptop and practice making cad models but that would probably be no good too
I understood the assignment
Gooning to the dentist for the first time in five years hope my mouth isn't completely fucked because my insurance sucks
https://www.youtube.com/watch?v=QvrG0rDgSAg
A few times a year I feel a heavy bag when stocking chips and make sure to buy it when I get off work in the morningA few weeks ago I felt a heavy bag of wingsI don't really like wings but it made them $3/lb instead of $6/lb so worth it even with bones and gristle.I had some of the wings with curly fries a few times and they were okay but too fatty. Today I cooked the last 12 of them and had them by themselves and they were pretty good, I guess the heavy ones with all the meat sank to the bottom. They weren't really hot and the sauce wasn't flavorful but it was some cheap chicken because the machine double filled it, so I'm pretty satisfied. It's also probably been over ten years since I had wings, don't really care for them but it's nice for a change.
>>221118003i dont think the dentist will let you goon in their office
i've never had a cavity
>>221118043Obviously meant going
I haven't been to the dentist in like 6 years
going to the doctors today to get pilled up and put in a straight jacket
>>221113916She doesn't look the type to need to extort men for sex
Geeked out white boy with a little bit of SWAGWho feels this way?
*deinks too much beer*
>>221118237executives are all psychopaths and women in power are doubly so
>>221114175Serial killer shit
Hate it when some moosefucker takes all the ink out of my beers
>>221114328
>>221118517Ok?!
I had a dream I was getting drunk with vince vaughan
>>221118685He seems pretty chill as far as hollywood goes
i HAVE dream(I can’t breathe)
i have a dreami hope will come truethat youre here with meand im here with you
farting up a storm
>>221118938Max Fart exceeded
mom said im handsome but "dumb in a nice way." what did she mean by this
>>221119033She said “dom” in a nice way because she’s knows her boy ain’t no sub!!
Taking an absolutely RANCID shit at work
lol someone walked in, took three steps inside and walked out againSorry for party rocking
>>221119166scoop it out the poopenfarten and place it in the break room
Itty bitty peenor, engorged with bloodAh ah ah, you rub so good!
How do I be the corpo office guy? The business guy?
if people started listening to my ideas the world would be a lot better
Kurzgesagt says it's over for germanyhttps://www.youtube.com/watch?v=jdBlpyCom3U
>search taydolf swiftler memes>they're all adlor hift memesded meme
>>221119398they need more brown third worlders to fix it
>>221119432based they need more syrians
>>221119398>Germany is heading toward a population collapse. For decades, birth rates have been below the replacement level, and at the same time, people are living longer and longer. As a result, the population is aging rapidly, and the ratio of working-age people to retirees is becoming unbalanced. This puts pressure not only on the pension system, but also on the labor market, the healthcare system, and many everyday services.>How did Germany end up in this situation, and what consequences will it have? Can this demographic shift still be halted—and if so, how?Haven’t watched but the answer is INDIANS
>>221119451the key to a successful country is 10 million indians and 5 million congolese people
>And in my dreams, you're alive and you're crying>As your mouth moves in mine, soft and sweet>Rings of flowers 'round your eyes and I'll love you>For the rest of your life when you're ready
>>221119514did you not know that indians are like a german car??what could possibly go wrong
My penis is a girl because touching a boy dick would be gay.
my hand is the pussy
>he gets cucked by his own penisfag
>marathon already on second sale for $27kek 250 mil well spent bungo
>>221119764wait till the holiday population boost chud
>>221119764not necessarily an indicator of a bad game. I bought Ghost Recon Breakpoint for $21 CAD when it was getting shit tanked in the ratings, but that was a few months after its launch. by the time i loaded it up the bugs had all been fixed and i ended up with an excellent game that's only continued to get better with regular updates and expansions.
If you suck on my little finger maybe I'll let you go
This chicken is greasy as fuck, I don't even want it now
ayo this nigga eatin CHICKEN
A lot of east coast zoomers don't even have the accent because of being raised on the internet
>>221120066I grew up in NC and I don't have an accent which is nice because it means normies don't try to "place" me or ask where I'm from.
I hate all of the east coast accents so much. New York people are so ugly and gross, this makes their low class accent even more triggering when it is heard.
>>221120092You're a soulless golem if you don't have the NC accent and were born there
>>221120121Fuck you tawkin abou?
>>221120121It's gross and trashy on women but sounds cool on men
people think new jersey is still full of italians but its actually full of indians pretending to be guidos
im never going back to jew york after mamdookie
>>221120142Okay Boomhauer
Portal takes place in Michigan because Aperture Science built their facilities underground in Upper Michigan.
We're the Kings of the Kilburn High
At the risk of sounding like a pussy, I hate that NYC, Boston, Chicago big city ball busting attitude. Like always using the strongest possible language, complaining, insulting everyone. These people have no decorum, no subtlety, just obnoxious to be around. When I see a comedian with that North East accent "ball-bustin" or whatever I cringe. Glad these North Eastern types are losing cultural influence.
Black Mesa built their facilities in the new Mexico desert and they were the rival company of Aperture Science.
This absolute clown thought the cops could t arrest him if they can't see his face so he pulled his mask down and was like "YOU CANT SEE MY FACE YOU CAN'T ARREST ME NIGGA"
>>221120364this country is a clownworldbums in this city are allowed to wander the streets litter piss camp yell occasionally threatening never see the cops do anything about themwont ask voters id for voting or to give id for college application but me riding my bike a bit to the far ass amtrak platform i get asked to shown id and amtrak ticket like these people literally believe the plebs are perpetual victims and therefore oppressed so they never do anything about them but save their expectations attacks and taxes for the middle class i hate this country
>framemogs your state
>>221120435No ID for voting is insane. Dems live illegals voting
>>221120278>>221120351in half life 2 beta they were called arbeit laboratories
Excellence is my presence.
I make a lot of money and Trump is fucking with my ability to make more money, I don't like that.
>>221120545should have donated harder to kamala fucking libtard
>>221120570I don't like Kamala Harris
other country general OPs>>221108786>>221116498>>221115062meanwhile look at ours>>221111968why are we so boring? we're not funny make better OPs
>SPLC indicted on fraud charges>Comey arrested for terroristic threats kek i hope this keeps going
>>221120584She likes you.
>>221120609ours is obviously by far better
>>221120609Weeb tranime bullshit, get better taste
>>221120618I hope so, but at least I can recoup about $150,000 through CAPE, no thanks to blumpf
>>221120609ive said for a long time this is literally the dumbest general on the board like this level of idiocy is kinda impressive
lock tf in samurai we got a wage to cage
>>221120609I jerk off to anime girls all the time
kek what's with all these squad ladies marrying white guys. Kamala, AOC, and Ilhan all do the race grift but when it comes time to get dicked down suddenly the menu is full of BWC. really makes you think.
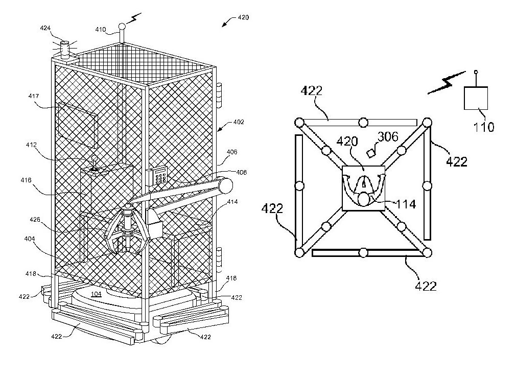
I went to an art galley in Luxembourg a couple years ago and an artist made the wage cage from the meme (patent) as piece of modern art lol. Like a 1:1 production of it.
Punishing the toilet
>>221120735Guess what race her husband is
>>221120777Found a picture of it.
Looks like I owned that MAGA chud with facts, typical coward from Ohio.
NEW>>221120762