[a / b / c / d / e / f / g / gif / h / hr / k / m / o / p / r / s / t / u / v / vg / vm / vmg / vr / vrpg / vst / w / wg] [i / ic] [r9k / s4s / vip] [cm / hm / lgbt / y] [3 / aco / adv / an / bant / biz / cgl / ck / co / diy / fa / fit / gd / hc / his / int / jp / lit / mlp / mu / n / news / out / po / pol / pw / qst / sci / soc / sp / tg / toy / trv / tv / vp / vt / wsg / wsr / x / xs] [Settings] [Search] [Mobile] [Home]
Board
Settings Mobile Home
/k/ - Weapons

Name
Options
Subject
Comment
Verification
4chan Pass users can bypass this verification. [Learn More] [Login]
File
  • Please read the Rules and FAQ before posting.

08/21/20New boards added: /vrpg/, /vmg/, /vst/ and /vm/
05/04/17New trial board added: /bant/ - International/Random
10/04/16New board for 4chan Pass users: /vip/ - Very Important Posts
[Hide] [Show All]


[Advertise on 4chan]

[Catalog] [Archive]

File: ear-1-2363552246.jpg (128 KB, 1024x537)
128 KB
128 KB JPG
Is the ear too complex for humans to understand? Is the hearing aid industry covertly killing people who make any real progress? Does nobody give a fuck? What's the deal?
>EEEEEEEEEEEEEEEEEEEEEEEEEEEEEEEEEEEEEEEEEEEEEEEEEEEEEEEEEEEEEE
39 replies and 3 images omitted. Click here to view.
>>
File: IMG_6092.jpg (66 KB, 563x598)
66 KB
66 KB JPG
You can provide extremely effective active hearing protection that will protect it against effectively all small arms, and distant large weaponry, and for less than $1000 per soldier per five or so years render everyone except artillerymen, tankers, and Carl Gustav crews hearing safe. The problem is not money, the problem is who is paying the money. It is almost certainly cheaper overall, (especially if we’re looking at the perspective of the American government who will consider the productivity and relative well-being of its citizen as an economic consideration) to prevent hearing loss than it is to pay out via the VA and treat it. However, if it is an individual soldiers equipment (being semi regularly replaced on a per unit level) then the money being spent is some of the hardest money for the US military to acquire. When in doubt, welfare is the most likely thing to get more money on a congressional vote. When in doubt, precise material acquisition by individual fighting units is the most difficult thing to satisfy in combat conditions. It’s about where the buck stops. Fighting units always want more money and more equipment all the time and will eventually triage what will further their immediate mission above all other expenditure. Veterans Affairs is the last stop on the chain, it is the last possible place that can spend money to relieve this issue and so it is where the most people who now recognize that they have this issue end up clamoring for money for decades on end. It is the place that the military is more equipped to pay from, even if that cost ends up being a much higher number when all is said and done.
>>
>>64887674
I like to imagine the anime girl explaining all this in a literal sense
>>
>>64885492
My crazy aunt’s favorite trick was blowing cigarette smoke out of her ear.
>>
File: aE8B35M_700b.jpg (34 KB, 700x854)
34 KB
34 KB JPG
>>64888230
>deafening yourself in one ear so you can perform a parlor trick for your nephew
>>
>>64888526
To be fair, im a slav and she was genuine forrest witch, so she probably had it damaged in some deal with the devil type of shit situation.
But yeah it was funny.

File: IMG_2614.jpg (485 KB, 1320x2196)
485 KB
485 KB JPG
Is introducing free market style humiliation rituals where you must underbid yourself to get pay raises a good idea for your military?
59 replies and 4 images omitted. Click here to view.
>>
>>64888128
>So, what's stopping everyone from just demanding $10 million
pablo will do it for 10 bucks
>>
>>64889086
He probably interacted with a warrant like twice as an officer and came away genuinely believing they're all lazy fat dudes who never show up to work or however the memes go.
>>
>>64889058
OP image says
>overbidding increases the chance of missing out on a bonus
They're definitely not going to kick out WOs for overbidding.
>>
>>64888110
>adding financial pressure that will inevitably outweigh tactical and strategic concerns
Shiggy Diggy.
>>
>>64888803
This. If you want fewer Warrant Officers you can just make fewer Warrant Officers. Making a person with a judged high utility bid against himself in order to keep his job is not a game that anyone with a brain is going to want to play. A salary is supposed to be a carrot, you're not supposed to be asked, "How much destitution are you willing to accept lest we upend your life?"

File: SSNX sinking.jpg (281 KB, 1495x1353)
281 KB
281 KB JPG
I mean, it's a submarine. Isnt it supposed to be sinking? What's so bad about it?

>The US Navy does not have the capacity to build the SSN(X) submarines at scale—but rather than acknowledging this, it has simply attempted to delay their completion dates.
The US Navy is entering a period in which submarines will be the most important manned platform it possesses. Yet the Navy is undergoing a massive submarine building (and maintenance) crisis. This relates to the overall, ongoing US naval shipyard crisis.

>Submarines are the Navy’s Future. Why Is It Dragging Its Feet on Them?
One of the biggest investments the Navy has made in recent years is in the new SSN(X) program—billed as the next-generation attack submarine designed to replace the current Virginia-class submarine program, which itself has struggled with production woes.

>As of 2025, the Navy has deferred initial procurement for these new, highly complex—very expensive—SSN(X) platforms from Fiscal Year 2035 to FY 2040. And it is far from clear if those procurement plans will remain fixed, given the strains on the overall US economy and the increasing political toxicity of endlessly funding the US defense apparatus the way Congress has been doing.
134 replies and 16 images omitted. Click here to view.
>>
>>64887865
see again:
>while keeping crews trained and current
You can always have high availability rates if you don't do anything with your navy. That's how turdie nations get by with nominally larger fleets on low funding; just don't deploy them on training exercises or whatever. No deployment, no wear and tear = spick and span, tiptop material "readiness"

>>64887931
>The low availability is caused by a shortage of docks and shipyard workers
yes, but it's still only ~10% lower than normal expectations, chucklefuck
>>
This thread smells like onions sauce.
>>
>>64888151
lmao
go back
>>
>>64887865
You know now he'll just start screaming availability doesn't actually matter.
>>
>>64878403
>>Refuse to admit the real problem(shipyards now surrounded by ghettos, and whites fleeing)

"The docks" have always been synonymous with low IQ roughnecks, crime, and low-skill labor.

Take your meds. Not everything is a trump-era culture war issue.

Talk about .22 don't care what it is from single shot bolt guns to illegal full auto buckmarks as long as it shoots .22

.22LR really is one of the best cartridges out there. A lot of people here seem to be focused too much on "defensive" shooting.
I think everyone should own a .22 and really learn fundamentals of shooting, the low price of the ammo and firearms makes the barrier of entry so low there's really 0 reason to not shoot one. For the price of 100-200 rounds of 9mm you could buy over a thousand rounds of .22 for the price of a basic 9mm handgun you could have a nice .22 or multiple cheap .22's.
For anyone who thinks .22 is too pussy or whatever, first off it's just as capable of killing someone as any other cartridge even if it may not be as effective. Secondly if you can nail a bullseye from 25 yards with a .22 one handed, when you go to blow someone away at 7 yards with both hands you will be able to put every shot exactly where you want because you learned proper sight alignment and trigger control.

TL;DR buy a .22, shoot more, discuss
296 replies and 63 images omitted. Click here to view.
>>
File: 20251116_075722.jpg (1.73 MB, 2400x1350)
1.73 MB
1.73 MB JPG
>>64888919
Yeah it's pretty sad about the state of hunting around the world, that's really what shooting is all about but hardly anyone has access to the good stuff and most places they can't hunt year round. I'm about 45 min away from a massive deer hunting forest, 20 min drive 25 min walk. Pretty lucky but still rarely get anything lol

Pic rel but that's about the most beautiful spot the rest is largely dense bush
>>
>>64888952
those hills remind me of where I grew up
>>
File: 20251231_131938.jpg (2.98 MB, 1800x2400)
2.98 MB
2.98 MB JPG
>>64888972
Probably didn't look like this on the inside though. No cell signal, few trails all of which are animal trails that don't go anywhere particularly logical, easy to get lost
>>
>>64888952
Can hunt year-round here, no license required just don't do it within the city limits. Sounds appealing until you find out it's because we're inundated with pests. There's no decent game anywhere near us, just parasites and mange, can't even eat the rabbits because of the pesticides we spread. Closest thing to decent hunting I've ever done here was being invited to take a pair of escaped goats, but the ability to walk up and pet one before you politely execute it really detracts from the experience.
>>
>>64889094
Ok that's still something. I think walking around pinging varmints is one of the best things to do. Big game hunting is cool until you realize you fire 1 shot per 10 hours walking kek

File: 1763248496537642.jpg (1.11 MB, 2740x2630)
1.11 MB
1.11 MB JPG
Is there any law preventing me in this situation?
Can I still legally submit a 4473 and buy a gun if I've been diagnosed with recurrent major depression without psychotic features, OCD, ADHD, autism level 2 without language impairment, and C-PTSD? I have no criminal record, absolutely zero, and I have never been detained and involuntarily committed to a psych ward but I think I voluntarily admitted myself to the psych ward after I went to the ER in June 2025 and told them that I "might try to hurt myself" and I spent more or less half a day in a room in the ER waiting for them to get ready to admit me and I was prescribed Duloxetine which I stopped taking a few months after that. I also used to use cannabis but I totally quit cold turkey in late 2025.

Could I still rent a handgun at a firing range?
15 replies and 1 image omitted. Click here to view.
>>
>>64887841
you shitpost, but paranoid schizophrenia isn't a federal prohibitor and paranoid schizos don't do violent crimes at a higher rate than the general pop
>>
>>64888326
just wait until OP buys his piece
>>
>>64883061
It sounds like OP will pass the background check, but it's not smart to fill out the form not knowing for sure. Yeah, the cops don't get called that day, but someone could get dragged into court months later and be at the judge's mercy.
>>
>>64889081
he's pass the federal background check, no questions asked, but I don't think anyone in this thread knows what specifically weird laws Washington state/the city of Seattle have specifically.
Some states like NJ have specific laws making it difficult or impossible for people who have ever seen a doctor for mental health to get a gun. hell NJ wanted to (but didn't actually pass) a law that would have banned people who received outpatient prescriptions for mental health from owning guns
>>
>>64882865
>Insane AND dumb
Do everyone a favor and refrain from purchasing a firearm.

File: 003.jpg (135 KB, 800x600)
135 KB
135 KB JPG
Redpill me on razées. Were they a meme?
27 replies and 3 images omitted. Click here to view.
>>
>>64887992
>there's an argument to made that a razzéed third-rate would be akin to a battle cruiser in concept
It absolutely was. A razee had thicker scantlings and sides, making it better armoured and armed essentially, as the reinforced structure meant it could carry heavier guns. It was also faster since it could carry more sail and ballast both.
Indefatigable and Constitution carried 24-lber guns. For comparison, at this time the international standard frigate carried 12lber guns, smaller ships 9lbers, and only the heaviest frigates carried 18lbers. Chesapeake, Constellation and Congress carried 18lbers like the most modern British and French frigates of the day.

>given that as a third rate the ship would have originally have been in the line of battle (Reminder that pic related was the work of third rates)
In practice there wasn't much difference between a third rate and a first rate. It's like, would a KGV (10 guns) consistently outfight a Revenge class (8 guns) battleship? The result would be much closer than the terminology implies. The 74s became regarded as the ideal because first rates were too slow and yet their heavier firepower didn't have significantly greater advantage in battle.
>>
>>64888024
The battle in the Master And Commander novie is not based on the Chesapeake and Shannon.
>>
>>64888084
>Why does Wellington need to do deals with Jews to secure funding for salaries? Because Whitehall paid the troops, instead of sending him the money.
I don't get it
>>
>>64888106
TLDR most things to do with supply and pay were not in Wellington's control, but under London's, whether the War Department (now MoD) or Treasury. Therefore not only did those 2 organisations have to wrangle with each other for resources and assets, Wellington also had to fight and petition the War Department to assign assets to him. And even then, supply officers nominally under his command could always complain to a superior body. Worst of all, Wellington had no authority to restructure (i.e. fire and hire) and reorganise the logistics train on which his manoeuvres depended. So incompetent officers and fuckedup org structures were outside of his powers to reorganise. Imagine you trying to run a campaign on Alibaba and Taobao, basically. And no, you don't have the authority to switch to Amazon.

Wellington therefore had to convince, cajole and commandeer resources, and try to build up a mini supply train under his personal command, organised how he liked and answerable to him. This wasn't always possible.

In contrast the Admiralty had full authority over most (not all) procurement and design decisions, as well as operations. The Treasury paid them and they did the rest. They had a comparatively very streamlined and efficient supply system, as a result. Contrary to pop-his memes, food supply in the Royal Navy was probably better than on land.
>>
you could turn your ageing obsolete 2nd rates from the 1700's into a hard hitting super heavy frigate.

the bongs knew what they were about

Why do gun owners need a gun safe? It's not like the gun's gonna jump up and bite someone.
72 replies and 6 images omitted. Click here to view.
>>
File: 1769965317016711.jpg (233 KB, 1080x1298)
233 KB
233 KB JPG
>>64887205
It protects your guns when Murphy shows up and sets your house on fire while you're away.
>>
>>64888529
I tried that, but she nearly suffocated. The gunsafe permits just enough airflow that it's safe, if somewhat stuffy.
>>
>>64887550
Couldn't they just use a steel safe? Buncha showoff dickheads.
>>
>>64887439
what, is 5000 the limit
>>
>>64889071
I just don't have expensive guns. The only gun I have that's more than $1,000 is my NM AR which was like $2,000 and that's with me overpaying for the lower. I only have 4 guns

Simple, elegant, sturdy, soldier-proof.
188 replies and 38 images omitted. Click here to view.
>>
>>64888423
>Can't tell if trolling o
what fucking moden ammo, other than .360 buckbreaker, is rimmed? every rimmed round is either a pistol round or was made 100 years ago, retardo. all of the rounds that have modern hunting support from the major manufacturers are rimless, fagito
>>
>>64888423
>yet still did not, implies that you're ignorant by choic
That's one interpretation. Another is that I'm already well versed in manufacturing techniques and was confident in my answer without needing to waste time researching a gun I will never buy.
>>
>>64888449
There's a whole category of rimmed variants of common rimless cartridges (such as the .307 winchester) that were specifically created to allow their use in lever actions. Also - and this may blow your brainrotted zoomer mind, but please bear with me - with the use of a press and a basic bitch two die set, I can put whatever style of bullet that I want in that rimmed case. But thank you for solving that little mystery of whether you were trolling or legit retarded. I'm glad that we got that cleared up.

>>64888507
You were only pretending to be retarded. Got it. Nice job, BTW.
>>
>>64888999
>There's a whole category
you gay fucking retard. the most available centerfire rimmed loads are going to be
.45-70, .45lc, .44 mag, .357 mag, .30-30, .303 and .360 buck breaker
half of those are pistol rounds and I could just get a marlin 1894. .45-70, .30-30 and .360 are all lever gun rounds and again I could just get a marlin or henry and all the ammo will be dedicated to lever guns.
.303 bong and x54r are the only nonleveraction rimmed rounds that are commonly made. they are less accessible than .308 or .30-06 and they used different projectiles than .308 or .30-06 so your choice of factory ammo is way less expansive than .308 or .30-06, you gay dickless no gunz retard
>>
>>64888423
>It would be better if you showed me.
Sure, here's some.

Savage:
https://www.youtube.com/watch?v=i62JXVDYOFo

Ruger / Marlin:
https://youtu.be/GYu9nJLdMzk&t=264

Charter Arms:
https://youtu.be/ijhYjKYqTQE&t=760

Henry:
https://youtu.be/hMNLa5wAsXM&t=738

Comment too long. Click here to view the full text.

File: t4m object.jpg (121 KB, 1200x605)
121 KB
121 KB JPG
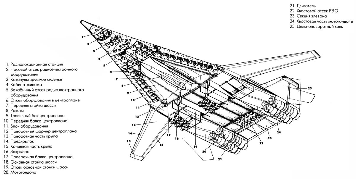
Abandoned prototypes, napkin drawings, states that are long-gone, does it not fascinate anyone else? Usually these stay as drawings because they are a bit odd and unconventional, a means to break some stalemate or design paradgim (which gets solved by some conventional method that is cheaper). Still, they can be a bit off-the-wall which i do like.
pic rel
128 replies and 68 images omitted. Click here to view.
>>
File: zutt.jpg (23 KB, 333x333)
23 KB
23 KB JPG
>>64885850
>>
>>64887926
That's true, but that take also make it not worth mentioning.

The "solid" Dyson sphere (or at least the solar sail) is the only one that's conceptually new, stable, and would allow massive computing in a matrioshka brain way.
Make it into a Shkadov thruster on top of it and you might actually become an interstellar species.
>>
>>64888384
Kek.
>>
File: xb-70 missiles.png (101 KB, 1213x529)
101 KB
101 KB PNG
>>64867413
>>
File: krennic beautiful.gif (2.07 MB, 498x208)
2.07 MB
2.07 MB GIF
>>64888810

File: 1771675533429818.jpg (59 KB, 1024x960)
59 KB
59 KB JPG
why didnt the US look into at sea rearming?
If in a war with china ports will be under attack being able to rearm at Sea would be a huge boost.
7 replies and 4 images omitted. Click here to view.
>>
>>64888643
>>64888651
What stocks do I need to profit off this when Taiwan kicks off? GE?
>>
>>64888733
RTX, formerly known as Raytheon
I just sold one of my cars and might put the money from it into RTX and General Dynamics. Hopefully we don’t start bombing Iran for another week or so
>>
>>64888547
That ship building capability does not exist anymore
>>
>>64888980
mostly because shitting out liberty class rustboxes required a little less money, skill and resources than of a modern frigate.
>>
>>64889050
You don't understand bro, chinese fishing boat and cargo hauler shipyards are basically the same as a shipyard that can outfit and maintain a nuclear-powered aircraft carrier with fucktons of advanced electronic systems

File: tilffy.png (1.03 MB, 1019x755)
1.03 MB
1.03 MB PNG
17 replies and 1 image omitted. Click here to view.
>>
>>64888970
>It's so they can catch the string pullers and financiers
>String pullers and financiers never seem to get caught
Doesn't seem like an effective use of resources.
>>
>>64888990

For one, Tannerite is banned in California and these retards aren't smart enough to buy it in Arizona or whatever. Also, they're so completely retarded that trying to make black powder instead of buying a can of Goex from Turner's (they wouldn't be caught dead in there anyway because gun stores are full of conservatives) is right up their alley.

tl;dr: Everything they did can be explained by extreme stupidity, which is SoCal's hallmark.
>>
>>64889001
>has zero interest in what would quickly become an investigation into major donors and "grass roots coordinators"
Who? stop being vague you little pissant
>>
>>64889013
>replying to tripniggers
yikes!

still, the moral is: don't say youre going to be a terrorist, even if someone goads you to justify their bloated budget.
>>
>>64889013
maybe they're giving copycats the wrong idea

>So Anon, I understand you have an idea for a new firearm?
72 replies and 28 images omitted. Click here to view.
>>
File: h6tzzq46kx151.png (1.92 MB, 2160x2160)
1.92 MB
1.92 MB PNG
>>64879425
yes, its a revolver but instead of reloading the cylinder you just change the cylinder. There is no more crane the cylinder is spring loaded and flies out like a garand clip when you use the release. New cylinders are 60 USD or 100 for titanium (cheaper to make than modern cylinders because there is no more milling for moon clips, ejector star etc. The cylinder is coated in plastic like a glock magazine. Also fires from the bottom cylinder. There is also not a top stray (to lower the sight offset) but instead a reinforcements on the sides of the cylinder.
Because of the increased reload speed, its basically becomes mandatory for all competitive shooting disciplines.
Pic unrelated
>>
BTRs with big fucking pepperbox of ICBMs
>>
>>64887090
Rather have an ICBM full of BTRs tbdesu fampai.
>>
>>64886235
One of the issues with that syestem was most of the options were too small only one or two calibers had reasonable accuracy, but the appeal was versatility. On paper at least, not enough people put their money where their mouth was. Very appropriate to the theme of the thread come to think of it.
>>
>>64888290
> but the appeal was versatility. On paper at least, not enough people put their money where their mouth was
Yeah I understand the appeal. I’d buy one if they were $1000ish. My point was you do have a couple common .355” options with .380, 9mm, .38, .357 mag, and I figure you could make it work 9x18 (slightly too large), and even with 9x23 Winchester, .356 TSW, or .38 super. Regardless of how practical it is, i get why it exists.

My point was using 7.62 tok is retarded because it’s a hot dog down a hallway situation. Ignoring the accuracy problem, the case is going to expand into the chamber and you’ll lose a lot of the velocity from being a loose fit.

before the government drops bomb to contain the zombie outbreak.

What is your loadout to survive the horror?
>Handgun
>Longgun
>Magnum
>Knife

Select your difficulty
>Easy
No restrictions
>Normal
Only things that were available in 1998
>Hard
Only things that you own that were available in 1998
112 replies and 20 images omitted. Click here to view.
>>
>>64873902
experiment 252 is progressing rather quickly.
>>
>>64888349
Hurricane rules. They just assume you're retarded and let you drive past to the zombie plague from NOLA.
>>
>>64857365
I would go fully nude, no weapons, smeared in vaseline (including the interior of my anus in case I meet Mr X). You said the goal is to escape the city, and the best way to do that is with as little encumbrance as possible. Being nude and smeared in vaseline will make me less likely to get grabbed by zombies, and other survivors will more likely than not want nothing to do with me.
>>
>>64885856
>The game does not tell you to
>Gee, I found this statue with a blue square gem, green circle gem and an empty triangle spot in it. Weird.
>10 mins later
>Gee, I found this red triangle gem. But I have no idea what to do with it.
>What a confusing game, I, a retarded zoomer cannot figure out this perplexing riddle
You goddamn stupid broccoli headed nigger tranny faggots should just all fucking die and make room for Gen alpha, because I'm pretty sure goddamn 5 year olds are smarter than you.
>>
File: Gordon1.jpg (21 KB, 400x400)
21 KB
21 KB JPG
>>64888153

File: 1748283238370667.mp4 (3.85 MB, 1280x720)
3.85 MB
3.85 MB MP4
Can human soldiers even compete with robot soldiers?
126 replies and 27 images omitted. Click here to view.
>>
Pff. Ask me when they actually field them against people shooting back.
Explosive pumped EMP mines, jammers, Molotovs, AP rounds and vehicular assault should work fine.
Or just cut off their line of supply, and RPG whatever they're using to recharge.
>>
Lol robots too dumb to walk around a table.
>>
>>64875872
Is this a behind-the-scenes from that performance they did for the 2026 spring festival?
I'm pretty certain it is, from the moves they're doing.
https://www.youtube.com/watch?v=mUmlv814aJo
>>
>>64877506
Jews have a malevolent(for non-kikes) global agenda and pursue it via bribery and blackmail, but its questionable which side they come down on regarding the Sexbot Question. Kikes act as an ethnic political bloc and even the ones few who fund the republicans vote for libtard shit personally, but that doesn't mean they don't disagree. They all need to die, but not because of their collective stance on hypothetical sex robots.
>>
File: 1771572394425544.png (74 KB, 2144x992)
74 KB
74 KB PNG
>>64882804
It's not played backwards, it did the vault that exact way during the performance >>64888901
Because that's what it was, an acrobatics show.

>>64877947
>Shittalking it like it's a bad thing that there exists a method to actually satisfy the population instead of telling them to go fuck themselves and pumping out more propaganda telling them that everything from retards experiencing the consequences of their actions, to the fucking weather is all their personal fault, so they must feel guilty and be an obedient little slave to make up for it
Robowives cannot fucking come soon enough. The shattering of the sexual monopoly and rapid shift in social dynamics will be fucking glorious. An entire fucking half of the population will be forced to actually have some fucking worth as human beings other than as a receptacle for semen. Even productivity will see improvement as every whore loses their ability to fuck their way up the corporate/political ladder, removing at least one vector for incompetence.

>>64875897
It's was from a stage performance at a festival. OP's just a fucking faggot (as usual) and using cool robots doing kung-fu on a stage as bait for shitposting on /k/

>countermeasures end up being cheaper than the cheap thirdie drones supposed to get us bankrupt

Kek
72 replies and 4 images omitted. Click here to view.
>>
>>64883926
>chinkshill has to jump into the convo and pretend his opinion matters
kek, 70% of all plastic garbage, sure.
>>
>>64888336
What about when you spend $30,000 launching a $55,000 Geran and then I spend $22,500 plus a fraction of an F-16 flight hour shooting it down with an APKWS2?
>>
>>64888422
>what if different numbers though
I guess id be sad about it not hitting anything, but i wouldnt shoot a $55k missile to waste 20k of fighter costin the first place, because 55k is more than 20k. If the attack costs more than the defence you dont use the attack as a pressuring tool unless you have some form of brain damage

The point of the cheap missile is that you have what, a 30 min loiter time? So i stagger fire at irregular intervals to force you to cycle planes, build up maintnence time and eventually either score a hit with my shit rocket, force you to withdraw to rearm, create an opening for my 55k missile, or send you bankrupt and win by default
>>
>>64888461
I can provide reliable sources for each number I cited. There's no way to rationalize Russia's Geran usage from a cost/benefit standpoint, just like there was never any way to rationalize the invasion in general that way. It's all just grasping at straws. Maybe this drone will be the one that happens to get through and happens to hit the power substation that happens to be the straw that broke the camel's back.
>>
>>64888336
The defenses only need to keep the carrier up long enough to bomb the shahed factory


[Advertise on 4chan]

Delete Post: [File Only] Style:
[1] [2] [3] [4] [5] [6] [7] [8] [9] [10]
[1] [2] [3] [4] [5] [6] [7] [8] [9] [10]
[Disable Mobile View / Use Desktop Site]

[Enable Mobile View / Use Mobile Site]

All trademarks and copyrights on this page are owned by their respective parties. Images uploaded are the responsibility of the Poster. Comments are owned by the Poster.